Ретроспектива

История печатных плат

Печатные платы от приёмника Эйслера до наших дней. Известные и малоизвестные факты, даты и события, анализ, выводы.

Печатная плата прошла путь от кустарной поделки до одного из самых сложных произведений инженерного искусства. И её эволюция — это история не только о меди и текстолите, но и о нас: о нашей жажде связи, скорости и контроля над миром, который мы всё плотнее опутываем узорами токопроводящих дорожек.

Введение. Анатомия молчания

Попробуйте отыскать в своём доме устройство, работающее от электричества и лишённое печатной платы. Эта задача окажется неожиданно сложной. Проще найти книгу без текста. Печатная плата — это та неприметная, часто уныло-зеленоватого цвета деталь, скрытая в недрах вашего смартфона, тостера и автомобиля. Она — молчаливый архитектор цифровой эпохи, её скелет и нервная система. Мировой рынок этого, казалось бы, рядового продукта превышает 80 миллиардов долларов, но его подлинная цена — вся современная цивилизация.

История печатной платы — это история парадоксов. Технология, ставшая символом глобализации и стандартизации, родилась из отчаяния беженца, боровшегося с паутиной проводов в своей лондонской квартире. Процесс, сравнимый по сложности с ювелирным искусством, своими корнями уходит в литографию XV века. Иоганн Гутенберг когда-то научился тиражировать мысли. Пауль Эйслер, сам того не ведая, начал тиражировать разум самих машин. Это не энциклопедическая статья, это рассказ о том, как упорядоченный хаос медных дорожек завоевал мир, став его невидимым, но абсолютно незаменимым пока что фундаментом.

Часть 1: Эпоха проводов и гения-изгнанника (1900-1945)

Предыстория. Джунгли проводов

До того, как мир электроники обрёл свой плоский, упорядоченный ландшафт, он представлял собой трёхмерный хаос.

Чтобы понять масштаб революции, которую произвела печатная плата, нужно заглянуть во внутренности устройств эпохи зари электроники. Картина открывалась безрадостная: царство навесного монтажа, который можно политкорректно назвать организованным беспорядком, но фактически это был хаос, стимпанк и хэви-метал из кованой жести и ручной пайки.

Компоненты — громоздкие лампы, резисторы размером с палец, конденсаторы в металлических банках — крепились на перфорированных панелях или самодельных шасси из жести и дерева. Между ними змеились провода, образующие причудливую паутину, которую монтажник создавал, сверяясь с принципиальной схемой. Каждое такое соединение было ручной работой, каждое — потенциальным источником сбоя.

Этот «навесной монтаж» был не просто архаичным — он был фундаментальным тормозом. Собрать устройство могли лишь опытные инженеры, работавшие часами над простейшей, по современным меркам, схемой. Вибрация легко выводила из строя хрупкие контакты, а поиск неисправности в этом лабиринте проводов превращался в детективное расследование с элементами ясновидения. О массовом производстве, о конвейере, где каждый продукт идентичен другому, не могло быть и речи. Электроника оставалась штучным товаром, дорогим и капризным произведением инженерного искусства.

Процесс был не просто архаичным. Он был медленным, дорогим и крайне ненадёжным. Каждое соединение — потенциальная точка отказа. Вибрация могла оборвать тонкий проводок, перегнуть его. Изоляция со временем растрескивалась, приводя к коротким замыканиям. Сборка даже простого трёхлампового радиоприёмника требовала часов кропотливого труда квалифицированного монтажника. О каком-либо массовом, конвейерном производстве идентичных изделий не могло быть и речи. Каждое устройство было штучным, почти рукотворным продуктом и в некотором роде уникальным произведением инженерного искусства, что делало его капризным, дорогим и доступным лишь узкому кругу энтузиастов и обеспеченных граждан.

Предтечи. Голоса в пустоте

Саму по себе историю печатных плат мы отсчитываем примерно с начала ХХ века. Но, разумеется, она не появилась из ничего. Начать можно с Вольта, Ампера, Фарадея и Ньютона, можно с сотворения мира, но так глубоко мы заглядывать не будем. (И в целом хронология статьи не вполне линейна, авторы привязываются не столько к датам, сколько к вехам развития.) А вот Эдисон и Никола Тесла уже ближе к истории печатной платы, чем просто к электричеству.

В 1883 году, работая над продлением срока службы угольной нити накаливания, Эдисон неожиданно обнаружил, что между нитью накаливания и электродом с положительным потенциалом протекает ток. При отрицательном потенциале электрода ток отсутствовал. Это эффект Эдисона. Открытие впоследствии привело к изобретению электронной лампы.

В 1904 году Джон Флеминг из Англии изобрёл вакуумный диод (он также был известен в то время, как лампа), состоящий из нагревательной нити, испускающей электроны, и экрана, принимающего электроны; при подаче на экран положительного напряжения генерируется ток, а при подаче отрицательного напряжения ток не генерируется.

В 1906 году Де Форест добавил сетку к диодной лампе и изобрёл триодную лампу (аудион, или триод), способную управлять активностью электронов для усиления сигналов и управления электричеством. Технология электронных схем вошла в стадию практического применения. Одновременно это способствовало развитию радио и других электронных отраслей.

Задолго до того, как Пауль Эйслер начал свои эксперименты, сама идея как-то собирать электрические цепи уже витала в воздухе. Ещё в 1903 году немецкий изобретатель Альберт Хансен подал заявку на британский патент, в котором описал конструкцию, удивительно похожую на современную многослойную плату (похожую, но и только). Он предлагал нарезать проводники из металлической фольги, помещать их между слоями бумаги и использовать сквозные отверстия в местах пересечений для создания межслойных соединений. Это был прообраз технологии, рождённый до эпохи фенольных смол и травления. Вернёмся к нему чуть позже.

Уже в 1907 году американский химик Лео Хендрик Бакеланд, родившийся в Бельгии, усовершенствовал технологию производства фенольной смолы, сделав её применение практичным и промышленным. Условия для появления и развития печатных плат были созданы, но пока они не были нужны.

В 1925 году изобретатель Чарльз Дюкас (Charles Ducas) получил патент США № 1,563,731 под названием "Electrical apparatus and method of manufacturing the same". В нём описывался аддитивный метод создания проводящих цепей на изолирующей подложке, по сути — первый прообраз «печатного провода». Однако эта и подобные ей технологии оставались курьёзными прорывами, опередившими своё время, в эпоху простых схем и дешёвого ручного труда.

Почему же эти прозрения не изменили мир? Ответ лежит не в области технологий, а в области экономики и потребностей. В ту эпоху электронная начинка устройств оставалась крупной, а схемы — простыми. Дешевизна и доступность неквалифицированного труда делали ручной монтаж экономически выгоднее, чем внедрение сложных и пока ещё неотлаженных химических процессов. Эти изобретения были решениями в поисках проблемы, голосами, которые в ту эпоху никто не был готов услышать. Необходимость, эта знаменитая мать изобретения, ещё не созрела.

Пауль Эйслер. Отчаяние как двигатель прогресса

Великие открытия часто рождаются на стыке личной драмы и профессионального опыта. Биография Пауля Эйслера — идеальная иллюстрация этого тезиса. Талантливый инженер, получивший докторскую степень в области инженерии, он столкнулся с жестокой реальностью Европы 1930-х. Его еврейское происхождение закрывало для него многие карьерные пути в Австрии, находившейся под растущим влиянием нацистской Германии. Вынужденный работать в печатной индустрии, он получил бесценный опыт в литографии — искусстве переноса изображения на камень или металл.

В 1936 году, спасаясь от надвигающейся катастрофы, Эйслер бежит из родной Вены в Великобританию. Однако его ожидал холодный приём. Британские власти не спешили предоставлять беженцу разрешение на работу. Оказавшись на грани нищеты, инженер начал подпольно собирать радиоприёмники у себя дома, чтобы как-то свести концы с концами. Именно в этой убогой обстановке, день за днём борясь с хаосом проводов, он и совершил свой прорыв. Именно в этой атмосфере родился замысел, изменивший всё. Эйслеру, часами паявшему соединения, пришла в голову мысль, граничащая с кощунством для инженера той эпохи: а что, если провода — это не необходимость, а дурная привычка? Что если сама плата, несущая конструкция, может быть и схемой? Это была идея радикальной экономии — не материальной, а концептуальной. Свести трёхмерный хаос к двумерной геометрии.  Его гениальная догадка заключалась в том, чтобы объединить две функции — несущего шасси и соединительных проводов — в одном предмете.

Опыт работы в литографии подсказал ему метод, который был обманчиво прост. Взяв изолирующую подложку (сначала Эйслер использовал стекло, затем перешёл на более практичные материалы), он наклеивал на неё тонкий лист медной фольги. Далее, используя методики, известные со времён Гутенберга, наносил на медь рисунок будущей схемы, но чернилами, а краской, устойчивой к кислоте, кислотостойким лаком. Дальше вступала в дело химия: ванна с травильным раствором, где незащищённая медь растворялась, обнажая изоляционную основу и оставляя лишь тонкий, точный узор будущих проводников. Оставалось лишь просверлить отверстия для компонентов и припаять их. Это был законченный, элегантный и дешёвый субтрактивный метод. В 1943 году он был официально оформлен в виде британского патента № 639111 «Manufacture of electric circuits and assemblies».

Это был не просто новый технологический приём. Это был переход от ремесла к индустрии, от уникального артефакта к тиражируемому продукту. Один раз созданный рисунок схемы — этот «негатив» устройства — мог быть воспроизведён сотни раз с минимальными затратами и погрешностями. Патент 1943 года стал не столько охранной грамотой, сколько декларацией новой эры. Но одной декларации было мало. Миру требовался веский довод, чтобы отказаться от привычного хаоса проводов. Таким доводом стала война, всегда ускоряющая самое невозможное.

Первыми изделиями, созданными по этой технологии, стали небольшие партии радиоприёмников для нужд британской армии. Это было скромное начало, но в нем уже угадывался будущий масштаб. Изобретение, рождённое на фоне отчаяния и нужды, было готово выйти в большой мир. Ему оставалось дождаться своего часа, и этот час должен был пробить на полях сражений Второй мировой войны.

Судьба самого Эйслера стала хрестоматийным примером того, как капитализм перемалывает гениев, оставляя себе лишь их идеи. Его послевоенное место работы, компания «Technograph», быстро превратилась в поле битвы, где инженерная гениальность проиграла юридической хватке и деловой беспринципности. Фактический контроль над патентами и бизнесом перехватил председатель Генри Стронг (Henry Strong), оттеснив создателя технологии на роль скромно оплачиваемого консультанта. По договору все изобретения отходили компании за 1 фунт. Эйслеру пришлось наблюдать, как его детище завоёвывает мир, принося другим состояния и славу, в то время как он сам оставался на обочине этого бума. Он умер в 1992 году, так и не став богачом, — живое доказательство того, что в системе, где правят патенты и акции, быть отцом-основателем всей современной электроники куда менее выгодно, чем тем, кто умеет эти патенты отжать. Technograph, к слову, также очень быстро погряз в патентных баталиях и остался не у дел.

В исторических обзорах периодически встречается ошибочное утверждение, что первую печатную плату создал немецкий инженер Альберт Паркер Хансон (Хансен), работавший в Берлине (британский патент GB 4681, 1903 г.). Мы его уже упоминали выше. Однако детальное изучение патента этот миф опровергает. Хансон описал не плату, а способ сборки многослойного плоского кабеля: готовые проводники механически укладывались между слоями парафинированной бумаги или в её продольные складки. Ключевые принципы печатного монтажа — формирование проводников на основе методом травления и их функция для монтажа компонентов — в документе отсутствуют. Таким образом, его изобретение стало прорывом в кабельной технике и прообразом гибких шлейфов, но не печатной платы. Собственно, основная цель его изобретения и была экономия провода для коммутации переключателей на телефонных станциях, а не монтаж. А американская версия патента называется и вовсе незамысловато: «Electric cable», что намекает (патент US782391A). Но сам результат — да, в боковой проекции похож на плату.

Часть 2: Война, секреты и радиовзрыватели (1940-1950)

Проблема, которую не решить вручную. Анатомия артиллерийского кризиса

К началу 1942 года командование ПВО союзников пребывало в состоянии, близком к отчаянию. Сухая статистика фиксировала шокирующий дисбаланс: для гарантированного уничтожения одного бомбардировщика Люфтваффе требовалось выпустить в среднем 18 000–22 000 зенитных снарядов. Эта цифра была не просто тревожной — она ставила под сомнение саму эффективность противовоздушной обороны. Причина провала крылась в архаичной конструкции взрывателей. Механические и дистанционные трубки, рассчитывавшие на прямое попадание или заранее установленное время подрыва, в динамичном воздушном бою оказывались слепым и беспомощным оружием. Причина крылась в механических взрывателях, которые срабатывали только при прямом попадании — событии почти статистически невозможном.

Изначально британцы разрабатывали фотоэлектрический взрыватель, но эффективность его оказалась очень низкой. Разница в освещённости фотоэлементов, которые вызывали подрыв снаряда была не слишком подходящим параметром.

Инженерный анализ проблемы указал на единственно возможное решение: снаряду необходим собственный «орган чувств» — миниатюрный радиолокатор, способный автономно определять приближение к цели и производить подрыв на оптимальной дистанции в 15–20 метров, где разлёт осколков гарантированно наносил бы смертельные повреждения. Амбициозный проект, получивший в США кодовое название «VT fuze» (Variable Time fuze — взрыватель с переменным временем срабатывания), а в Великобритании — «Proximity fuze», был запущен в условиях строжайшей секретности.

Однако теоретическая ясность наталкивалась на непреодолимые, казалось бы, физические барьеры. Сердцем любого радиопередатчика и приёмника в те годы была вакуумная лампа — хрупкое стеклянное изделие с тончайшими внутренними электродами. Испытания на полигоне показали, что стандартный 5-дюймовый снаряд при выстреле из корабельного орудия Mark 12 испытывает чудовищную перегрузку, достигающую 20 000 g. В таких условиях ни одна лампа, ни одно паяное соединение, ни один провод не могли уцелеть. Лабораторные прототипы взрывателей, собранные по традиционной технологии навесного монтажа, превращались в керамическую пыль и бесформенный клубок оборванных проводов после первого же испытательного выстрела.

Проблема усугублялась жёсткими габаритными ограничениями. Вся электронная начинка — включая источник питания, передатчик, приёмник и схему детектирования — должна была уместиться в цилиндре диаметром не более 7 см и длиной около 15 см. Традиционная компоновка с лампами, установленными на отдельном шасси, и ручной разводкой проводов была физически невозможна. Проект VT fuze оказался на грани срыва. Требовался не просто инженерный апгрейд, а технологическая революция — принципиально новый способ «упаковки» электроники, лишённый всего, что можно было сломать, оторвать или деформировать. Нужна была монолитная, цельная система, где сама структура устройства была бы и его схемой.

Забытый патент. Как идея Эйслера спасла проект

Кризис проекта VT fuze достиг своего пика к середине 1943 года. Инженеры Научно-исследовательского бюро ВМС США (Office of Scientific Research and Development), исчерпав традиционные подходы, начали активный поиск альтернативных технологий. В этом поиске их внимание привлёк британский патент GB 639111, выданный в 1943 году на имя Пауля Эйслера. Для американских военных инженеров, привыкших к трёхмерным «джунглям» навесного монтажа, эта идея была подобна озарению: что, если полностью отказаться от проводов, сделав несущее основание и электрические проводники единым целым?

Ключевым преимуществом метода Эйслера была не «печать» схемы сама по себе, а её адгезивная связь с диэлектрической подложкой. Медные дорожки, полученные травлением фольги, были не нанесены на поверхность в готовом виде и висели на ней как обычные провода, а составляли с основой единый, неразрывный композитный материал. Это решало главную проблему перегрузок: проводникам было просто неоткуда оторваться.

Адаптация технологии для нужд VT fuze велась с феноменальной скоростью и приоритетом. Лаборатория прикладной физики Университета Джонса Хопкинса, выступавшая главным подрядчиком, совершила ряд усовершенствований:

  1. Заменили материалы. Вместо хрупких картонных основ, которые использовал Эйслер, был выбран новейший стеклотекстолит марки FR-4. Медная фольга толщиной 35–70 мкм приклеивалась с помощью термореактивных смол, обеспечивавших прекрасную стойкость к температурным ударам и вибрации.
  2. Изменили геометрию. Это было логично, учитывая ТЗ. Платы проектировались круглыми, диаметром ровно 76 мм, чтобы максимально эффективно использовать цилиндрический объём корпуса взрывателя. Это, в свою очередь, потребовало разработки специальных методов фотолитографии для переноса сложного рисунка схемы на нестандартную заготовку.
  3. Изменили компоненты. Стандартные радиолампы были непригодны. Вместо них использовались специально разработанные «жёсткие» субминиатюрные лампы типа 5719/6D4. Их особенностью было не только микроскопическое строение (по меркам радиоламп, конечно), но и укреплённые электроды и нить накала, способные выдержать ударные нагрузки.
  4. Использовали герметизацию. Финальным и, возможно, самым важным шагом стала полимерная инкапсуляция. Вся собранная плата с установленными лампами и пассивными элементами помещалась в вакуумную камеру, где её заливали специальной эпоксидной смолой с кварцевым наполнителем. После полимеризации получался монолитный блок, абсолютно нечувствительный к влаге, вибрации и перепадам внешнего давления. Электроника была буквально замурована в прочнейший пластиковый саркофаг.

Первыми лампами, подошедшими для использования, оказались лампы для слуховых аппаратов. Британская фирма “Mullard Radio Valve Co. Ltd.” производила специальную серию миниатюрных ламп особой прочности для этой цели. Они считали, что слуховой аппарат часто падает и лампы должны быть крепкими. При испытании на центрифуге лампы выдержали нагрузку в 20000 g по некоторым векторам — лампы оказались прочными до абсурда. В дальнейшем “Imperial tubes, Ltd.” (тоже британцы, канадское отделение) разработала лампы, выдерживающие нагрузки в 75000 g.

К концу 1944 года, всего через полтора года после начала работ, программа вышла на полномасштабное производство. Заводы компаний Crosley Corporation и McQuay-Norris работали в три смены. К моменту капитуляции Японии в августе 1945 года было произведено свыше 22 миллионов радиовзрывателей. Их боевое применение, начавшееся с поражения японского бомбардировщика в небе над Гуадалканалом, показало ошеломляющие результаты: эффективность зенитного огня возросла в 5–7 раз. Технология, рождённая в тишине лондонской квартиры, решила исход воздушных битв на Тихом океане.

Наследие «VT». От секретного оружия к промышленному стандарту

К концу 1945 года склады Пентагона ломились от неиспользованных радиовзрывателей. Свыше двух миллионов единиц высокотехнологичной продукции внезапно оказались никому не нужны — словно замысловатые механические игрушки, оставшиеся после закрытия карнавала. Судьба проекта висела на волоске: можно было отправить всё это электронное великолепие на утилизацию, похоронив технологию вместе с военными секретами, или найти ей новое применение. Жажда наживы и жадность оказались сильнее и капитализм, давно свалившийся в реакцию, поднатужился и явил миру свои прогрессивные качества.

Выбор был сделан в пользу своеобразного «технологического разоружения». Начиная с 1946 года, под грифом «For Official Use Only», начинается осторожное ознакомление представителей ключевых промышленных корпораций с принципами печатного монтажа. Это был стратегический ход — превратить смертоносное ноу-хау в инструмент послевоенного экономического превосходства. В 1948 году Национальное бюро стандартов США публикует тот самый отчёт «Printed Circuit
Techniques» (Циркуляр 468), который можно считать техническим паспортом на новую жизнь печатной платы. Документ читался как ироничная инструкция: «Как превратить артиллерийский снаряд в сердце мирного радиоприёмника». Ну, не сам снаряд, конечно. Сам же отчёт стал своего рода технической «библией» для гражданских инженеров.

Но настоящий мост между войной и миром построила программа «Tinkertoy» — один из самых амбициозных и парадоксальных проектов Холодной войны. Его философия была до предела циничной и практичной: если электронику можно собирать как детский конструктор, то и солдат сможет чинить её в полевых условиях голыми руками, обмороженными в корейских степях. С 1950 по 1952 год были потрачены миллионы долларов на создание стандартизированных керамических подложек с напылёнными проводниками и миниатюрных модульных компонентов. «Tinkertoy» не просто использовала печатные платы — она довела идею Эйслера до абсурдного, бюрократического совершенства, разработав 17 стандартных типов ячеек и 17 типономиналов резисторов и конденсаторов. Это был апогей стандартизации, где каждая деталь имела армейский каталожный номер и предназначалась для быстрой замены под огнём противника.

К 1955 году, когда компания Motorola выпустила на прилавки свой транзисторный радиоприёмник Model 56T1, внутри него лежала не просто плата — лежало приручённое привидение войны. Потребитель, насвистывая джазовый мотив, не подозревал, что держит в руках продукт, чьи прямые предки были рассчитаны на то, чтобы за доли секунды до детонации точно измерить расстояние до кабины японского бомбардировщика. Цивилизация, как выяснилось, строится не на отказе от орудий убийства, а на умении переплавить их в патефоны.

Часть 3: Транзисторная революция и рождение многослойности (1947-1960)

Точечный контакт, который изменил всё. Рождение транзистора в Bell Labs

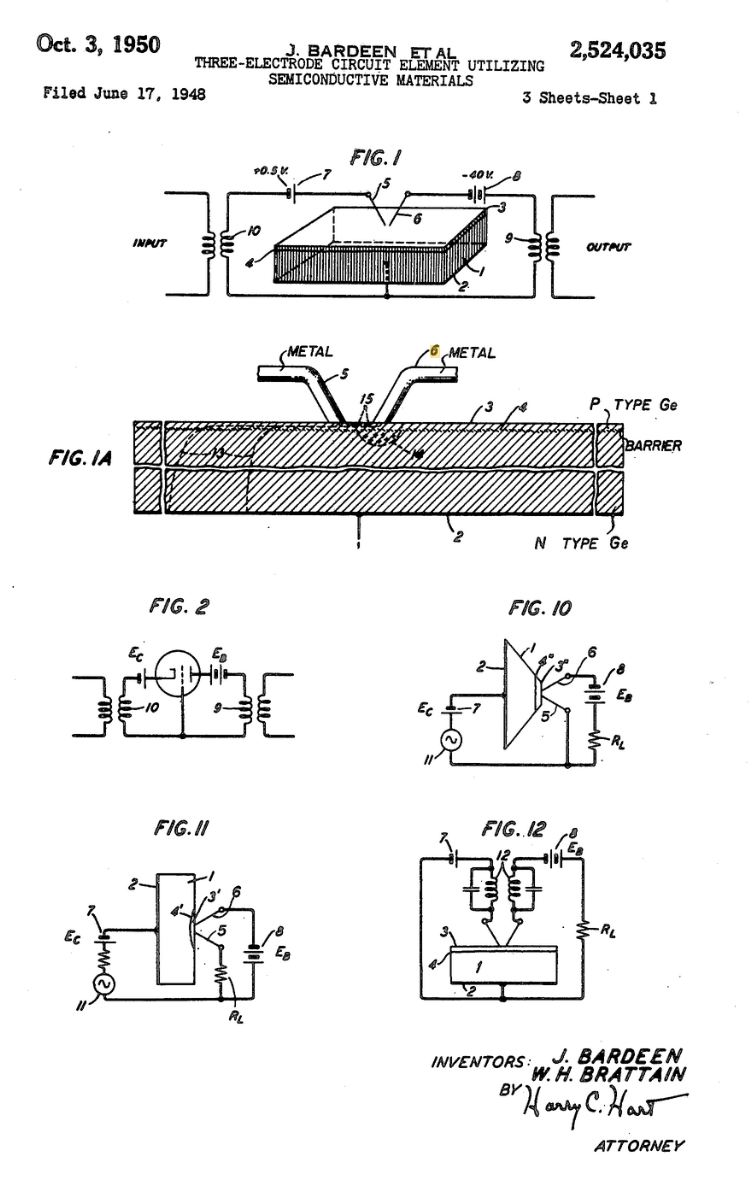
23 декабря 1947 года в лабораториях Bell Telephone Laboratories в Мюррей-Хилле, штат Нью-Джерси, произошло событие, которое в служебном отчёте сухо озаглавили «полупроводниковый усилитель». Под этим техническим термином скрывалась бомба замедленного действия, заложенная под основы всей электронной индустрии. Уильям Шокли, Джон Бардин и Уолтер Браттейн, ведомые как научным духом исследования, так и чётким коммерческим заданием — найти замену ненадёжным механическим реле в телефонных станциях, — продемонстрировали работающий прототип прибора, позже названного точечным транзистором.

Уильям Шокли, Джон Бардин и Уолтер Браттейн — американские физики, лауреаты Нобелевской премии по физике 1956 года «за исследования полупроводников и открытие транзисторного эффекта». Бардин — единственный в мире физик, дважды удостоенный Нобелевской премии по физике: в 1956 — совместно с Браттейном и Шокли, в 1972 году «за совместно разработанную теорию сверхпроводимости, обычно называемую БКШ-теорией» (совместно с Купером и Шриффером). 

Конструкция их творения сегодня выглядит архаичной, почти кустарной. Кристалл германия, две золотые фольговые контактных площадки, вдавленные в его поверхность и расположенные на невероятно малом по тем временам расстоянии — менее 0.05 мм друг от друга, — и пластиковый корпус. Первый транзистор выдавал коэффициент усиления по мощности около 18 дБ на частоте 1 кГц. Но его истинная революционность заключалась не в параметрах, а в принципе. Это был твердотельный прибор, не требовавший вакуума, нити накала, потреблявший мизерную мощность и практически мгновенно готовый к работе. Патентная заявка (U.S. Patent 2,524,035) была подана 17 июня 1948 года.

Отрасль встретила изобретение с прохладным недоумением. Гиганты вроде RCA и Philips видели в транзисторе любопытную игрушку, но не замену могучей электронной лампе. Последняя была сердцем индустрии с многомиллиардными оборотами. Ламповый завод представлял собой сложнейшее индустриальное предприятие с вакуумными печами, прецизионной сборкой и контролем качества. Транзистор же рождался в условиях, больше напоминающих алхимическую лабораторию.

Практическое применение поначалу было крайне ограниченным. К 1951 году Bell Labs наладила лимитированное производство транзистора Type A, предназначенного в основном для телефонных станций, в 1952 году производство вышло на уровень 8400 транзисторов в месяц. Цена транзистора Type A составляла около $20 за штуку (примерно $240 в сегодняшних долларах). Но даже эти скромные успехи омрачались фундаментальными проблемами. Шокли, прекрасный теоретик, был глубоко недоволен нестабильностью точечной технологии. Конструкция была чрезвычайно чувствительна к малейшим вибрациям, а параметры транзисторов из одной партии могли различаться вдвое. Это была не инженерия, а лотерея. Несмотря на низкое качество и на моральное устаревание, тип А производился 10 лет.

Недовольство Шокли качеством и привело к созданию теории плоскостного транзистора — устройства, где p-n-переходы формировались бы не точечными контактами, а в объёме кристалла. Пока Бардин и Браттейн доводили до ума своё «несовершенное» детище, Шокли в апреле 1948 года в рабочей тетради сделал решающую запись: «Метод изготовления полупроводникового усилителя...», описав принцип сплавного плоскостного транзистора. Это было рождение технологии, которая определит развитие электроники на десятилетия вперёд.

Очередной казус — коммерциализацией «нестабильного» точечного транзистора занялись другие. В 1952 году Bell Labs, следуя антимонопольным требованиям, провела знаменитый Транзисторный симпозиум. За $25,000 любая компания могла купить место участника, получив вкупе лицензию на технологию и всю необходимую документацию. Среди первых лицензиатов оказались молодые Texas Instruments и скромная Tokyo Tsushin Kogyo (со временем она станет более известна как Sony).

К 1954 году, пока Шокли боролся с несовершенством кристаллов, TI под руководством Патрика Хагерти совершила маркетинговый прорыв, выпустив первый в мире коммерческий транзисторный радиоприёмник Regency TR-1. Он использовал четыре германиевых транзистора, работал от батареи на 22.5 вольта и стоил $49.95. Успех был оглушительным. Потребляемая мощность аппарата составляла всего 12 милливатт — ламповый аналог «съедал» бы в сотни раз больше. Рынок проголосовал кошельком за портативность, а не за идеальную чистоту p-n-переходов.

Но именно разработка Шокли — плоскостной транзистор, запущенный в серию в 1952 году, — обеспечила настоящую технологическую революцию. Транзистор этот был стабилен, пригоден для массового производства и, что важно ещё в большей степени, идеально подходил для новой формы интеграции компонентов. Ламповая техника грелась, как камин, транзисторная оставалась холодной, эффективной и бездушной. Прогресс никогда не бывает тёплым и уютным.

Планарный процесс и интегральная схема. Как грязь и кремний породили чип

К 1958 году транзисторная революция зашла в стратегический тупик. Миниатюризация упёрлась в «тиранию проводов». Каждый транзистор, диод или резистор по-прежнему требовал ручной пайки и соединения с другими элементами на печатной плате. Создание сложного устройства превращалось в кошмар логистики: американский компьютер AN/FSQ-7, сердце системы ПВО SAGE, содержал 49 000 транзисторов и занимал площадь в 2000 квадратных метров. Проблема «кризиса соединений» стала главным тормозом прогресса.

Решение пришло с двух сторон одновременно, породив один из самых яростных споров об интеллектуальной собственности в истории технологий.

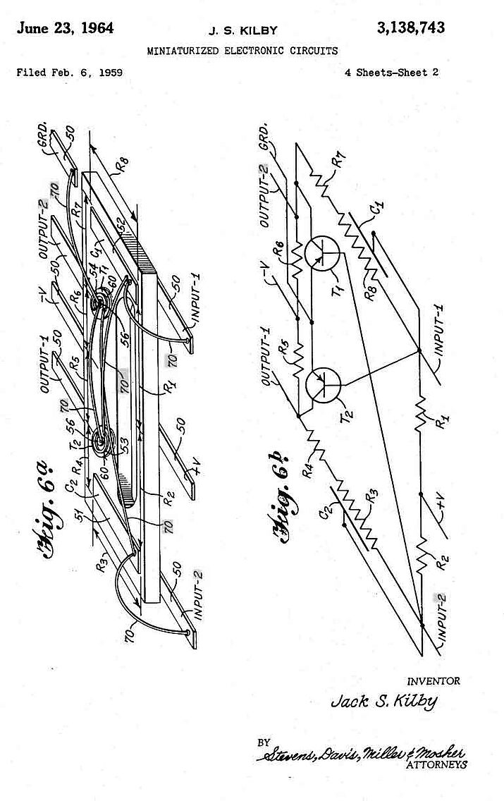
Летом 1958 года Джек Килби, новичок в Texas Instruments, оставшись один в лаборатории пока все коллеги были в отпуске, совершил прорыв. Его идея была гениальной в своей простоте: если все компоненты сделаны из одного материала — полупроводника, зачем их разделять? 12 сентября 1958 года он продемонстрировал руководству TI работающую германиевую пластину с несколькими компонентами. Это была гибридная интегральная схема (ИС). Килби использовал метод проволочных монтажных перемычек (fly-wire) для соединения элементов. Патент (U.S. Patent 3,138,743 “Miniaturized Electronic Circuits”) был оформлен в 1959 году. Его устройство было фундаментальным прорывом, но технологически тупиковым — ручная сварка микроскопических проводов не поддавалась массовому производству.

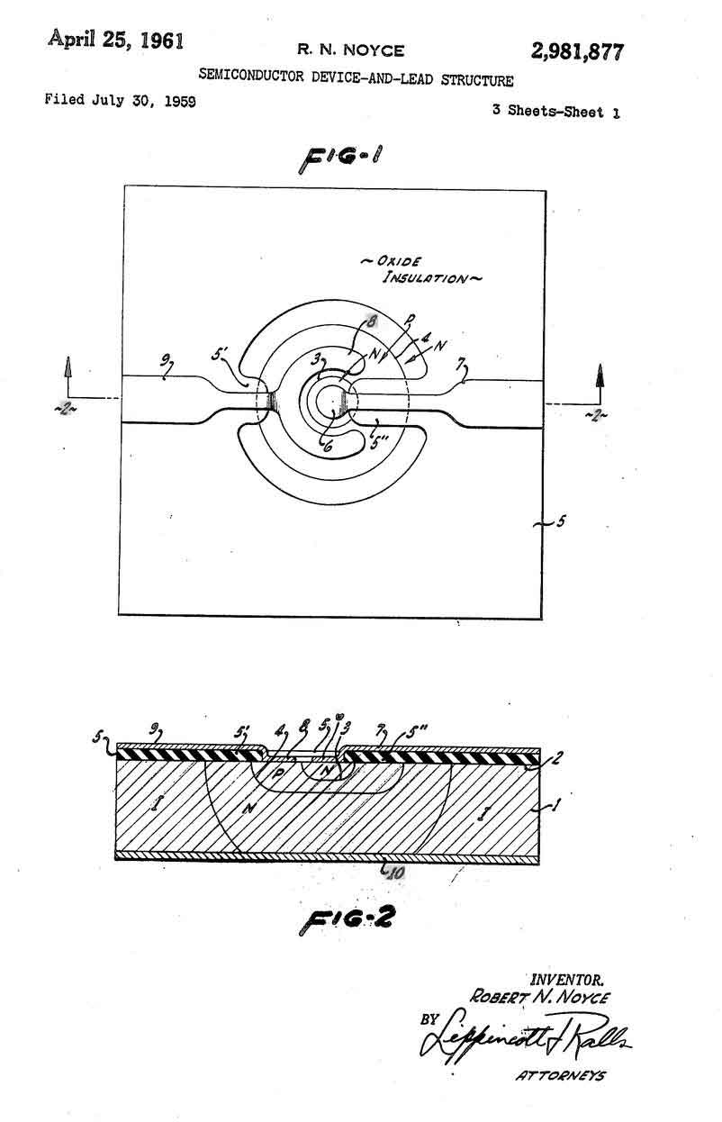
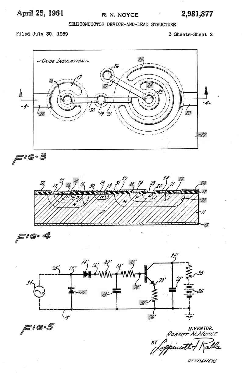
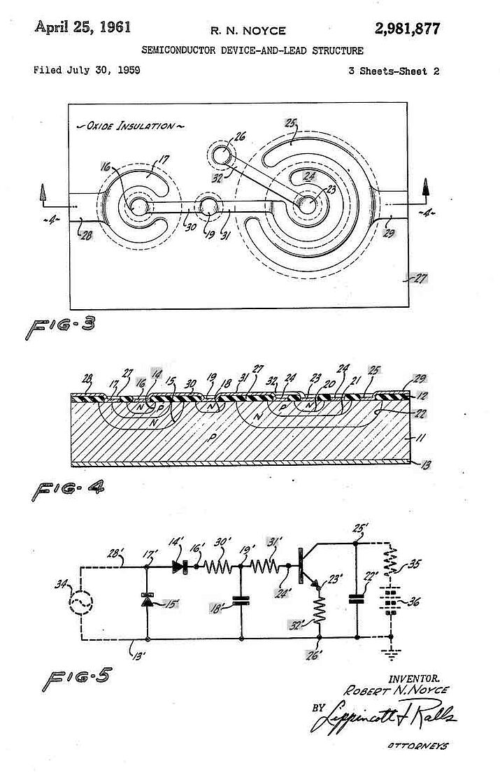
Параллельно, в Калифорнии, Роберт Нойс из Fairchild Semiconductor искал более элегантное решение. В начале 1959 года он осознал, что новейшая планарная технология Жана Эрни, разработанная для изготовления кремниевых транзисторов, является ключом ко всему. Суть её заключалась в последовательном наращивании и вытравливании слоёв. Сначала на кремниевой пластине выращивался защитный слой диоксида кремния, своеобразное стекло, изолирующее поверхность. Потом с помощью фотолитографии в этом стекле протравливались окна, сквозь которые в кремний внедрялись примеси, создавая транзисторы. Финальным аккордом на всю конструкцию напылялся алюминий, который, проникая в окна, соединял отдельные компоненты в единую схему. Это было похоже на создание микроскопического города, где алюминиевые дорожки служили одновременно и улицами, и трубопроводами, и электросетями.

Нойс предложил использовать эти самые алюминиевые магистрали для связи между несколькими транзисторами, резисторами и конденсаторами, созданными на одной подложке. Он придумал способ создавать межсоединения через отверстия в оксиде — прообраз современных контактных площадок. Патентная заявка Нойса (U.S. Patent 2,981,877 “Semiconductor device-and-lead structure”) была подана позже, чем у Килби, в июле 1959 года, но описывала более совершенную, монолитную интегральную схему, где всё было единым целым.

Последовавшая десятилетняя патентная война между TI и Fairchild закончилась мировым соглашением и созданием перекрёстной лицензии. Но индустрия безоговорочно проголосовала за подход Нойса. Его планарный процесс стал тем универсальным языком, на котором говорит вся современная микроэлектроника. Изобретение Килби доказало, что интеграция возможна. Изобретение Нойса показало, как её можно тиражировать.

К 1961 году компания Fairchild выпустила первую коммерчески успешную серию интегральных микросхем «Micrologic». Логический элемент Fairchild Micrologic FLV-111 стоил $120 (около $1000 сегодня) и содержал эквивалент нескольких транзисторов и резисторов. Это был скромный начало пути, который приведёт к закону Мура и станет аналогом момента, когда первые клетки собрались в многоклеточный организм. Эра дискретных компонентов доживала последние дни.

Ответ технологии. Многослойность и рождение профессионального проектирования

Интегральные схемы, эти новоявленные кремниевые острова, не отменили печатные платы, как того могли ожидать некоторые футурологи. Вместо этого они превратили их из простых двумерных карт в сложные трёхмерные мегаполисы. Плата перестала быть пассивной подложкой для монтажа; теперь ей предстояло стать коммуникационной инфраструктурой, связывающей эти острова в единый архипелаг. И чем сложнее становились чипы, тем острее вставала проблема их соединения. Уже к 1965 году типичная интегральная схема серии SN7400 содержала 10-16 выводов, а к концу десятилетия их количество у некоторых компонентов перевалило за 40. Каждый вывод требовал своей дорожки, своего пространства на этой своеобразной кремниевой автостраде.

Первым и самым очевидным ответом стало увеличение количества слоёв. Если одна сторона платы уже не могла вместить все необходимые соединения, логика подсказывала использовать и вторую. Так родились двусторонние печатные платы. Однако это породило новую проблему: как обеспечить электрическое соединение между слоями? Первое время инженеры использовали обычные проволочные перемычки, впаиваемые в отверстия, что было ненадёжно и сводило на нет все преимущества технологии. На сборку одной такой платы уходило до 30-40% общего времени монтажа.

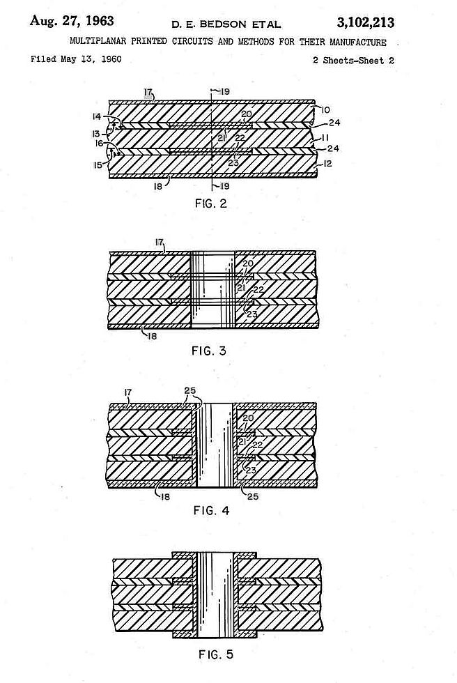
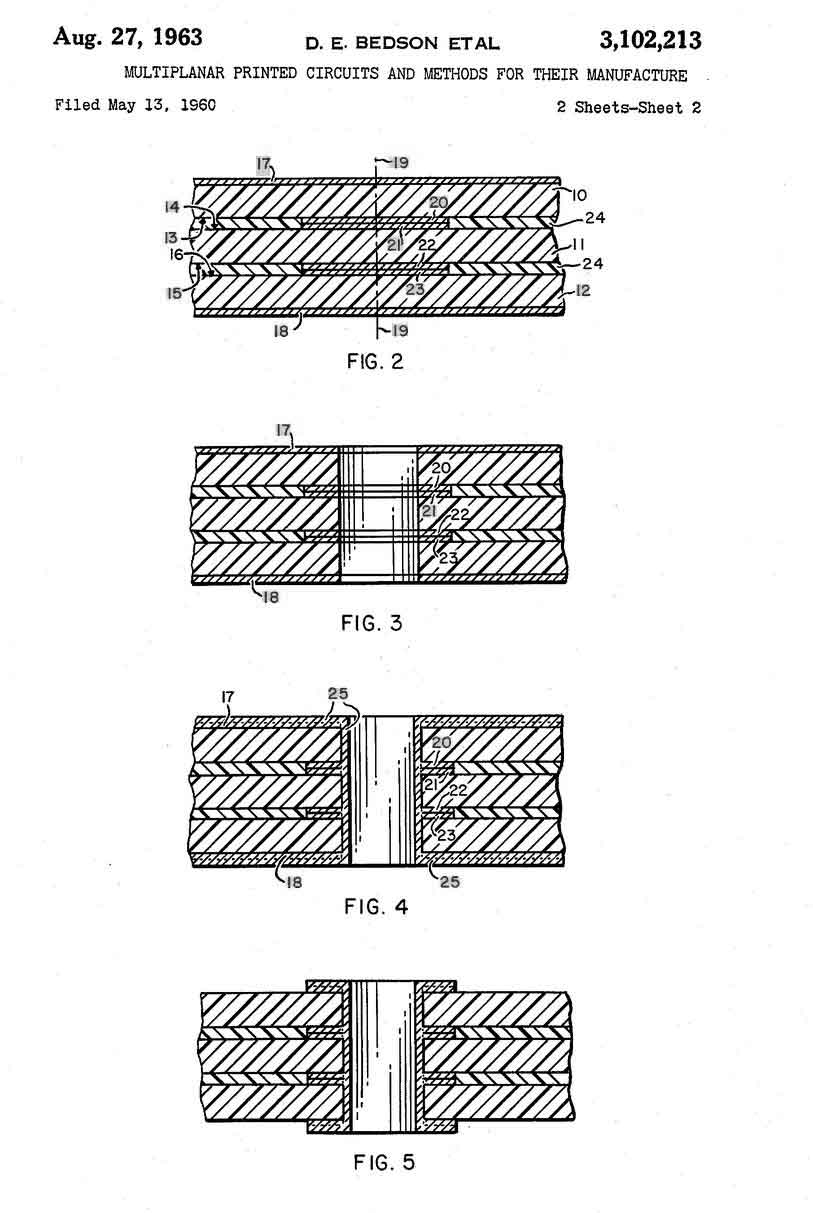
Прорыв произошёл в 1963 году, когда компания Hazeltine Corporation запатентовала (U.S. Patent 3,102,213 “Multiplanar printed circuits and methods for their manufacture”) метод сквозных металлизированных отверстий. Технология оказалась до безобразия простой: после сверления отверстия в заготовке платы его внутренняя поверхность активировалась специальным составом, а затем в вакуумной камере на неё напылялся тонкий слой меди. В результате отверстие превращалось в идеальный проводящий канал, соединяющий дорожки на разных сторонах платы. Это изобретение стало краеугольным камнем всей дальнейшей эволюции, позволив собирать многослойные «сэндвичи» из медных дорожек и диэлектрика. Пропускная способность платы возросла кратно, а надёжность таких соединений по сравнению с ручными перемычками увеличилась, по оценкам, на порядок.

О пользе ошибок, обнаруживаемых на этапе производства

К середине 1960-х годов сложность плат возросла настолько, что их проектирование превратилось в одну из самых трудоёмких инженерных задач. Разработчик, вооружённый лишь карандашом, ластиком и кульманом, был вынужден вручную, как средневековый картограф, вычерчивать десятки метров токопроводящих путей, стараясь избежать пересечений и соблюсти постоянно растущие электрические требования. На проектирование одной сложной платы могло уходить до трёх человеко-месяцев кропотливого труда. Малейшая ошибка, пропущенное замыкание, обнаруженное только на этапе производства, означала брак всей партии и колоссальные убытки. Это был интеллектуальный конвейер, работающий на пределе человеческих возможностей.

Ответом на вызов сложности стало зарождение компьютерной эры в проектировании. Ещё в 1959 году исследователь MIT Дуглас Росс впервые употребил термин «computer-aided design» (CAD), а в 1963-м Айвен Сазерленд в своей революционной диссертации представил систему Sketchpad — прообраз современного графического интерфейса, позволявший чертить на экране электронно-лучевой трубки с помощью светового пера.

Эти академические разработки открыли дорогу коммерческим системам. К концу 1960-х — началу 1970-х годов на рынке появились первые коммерческие САПР для электроники. Такие компании, как Applicon (основана в 1969 году), предлагали системы, которые позволяли инженеру вводить схему соединений в компьютер и с помощью светового пера вручную разводить проводники прямо на экране.

Это был примитивный по современным меркам, но революционный для своего времени инструмент. Он знаменовал собой начало конца эры кульмана, переводя проектирование из мира аналоговой графики в цифровую реальность, где ошибку можно было исправить нажатием клавиши. Пусть и медленно, но проектирование печатных плат вставало на путь, который в конечном итоге приведёт к созданию сложнейшей цифровой инфраструктуры, необходимой для будущих микропроцессоров.

Часть 4: Великая трансформация. От мейнфреймов к персоналкам (1960-1980)

Эра мейнфреймов. IBM System/360 и индустриализация производства ПП

7 апреля 1964 года корпорация IBM совершила стратегический ход, навсегда изменивший ландшафт вычислительной техники и производства печатных плат. В тот день была анонсирована система System/360 — не просто новый компьютер, а целое семейство программно-совместимых машин. Этот проект стоимостью $5 миллиардов (свыше $40 миллиардов в современном эквиваленте) стал самым рискованным частным предприятием в истории на тот момент. Его успех напрямую зависел от технологии, способной обеспечить беспрецедентный уровень стандартизации, надёжности и массового производства электронных модулей.

Этой технологией стала Solid Logic Technology (SLT), которую в 1961 году начал разрабатывать Эрих Блох, инженер IBM. В отличие от монолитных интегральных схем, которые в начале 1960-х всё ещё считались ненадёжными и дорогими, SLT использовала гибридный подход. На крошечную керамическую подложку размером всего 0.5 дюйма (≈12.7 мм) напылялись резисторы и межсоединения, а затем к ней припаивались отдельные дискретные транзисторы и диоды. Получившиеся «чипы» затем устанавливались на печатные платы размером с ладонь. Каждая такая плата представляла собой законченный функциональный модуль — например, модуль логики или памяти.

Именно здесь печатные платы впервые столкнулись с вызовами действительно массового производства. Для системы 360 требовались десятки тысяч идентичных, абсолютно надёжных плат. Традиционные методы проектирования и контроля качества уже не справлялись. Платы для SLT-модулей были относительно простыми — в основном односторонними или двусторонними, с шагом дорожек около 0.5 мм. Однако объёмы были колоссальными: к 1966 году заводы IBM выпускали до 100 миллионов SLT-модулей в год. Это требовало создания высокоавтоматизированных линий для сверления, металлизации и пайки, что превратило производство ПП из ремесла в точную инженерную дисциплину. Основными особенностями использования данной технологии являются уникальная форма полупроводниковых приборов, процесс изготовления модулей, более высокая плотность схем и повышенная надёжность по сравнению с более ранними технологиями корпусирования, такими как Standard Modular System (SMS). Использование технологии SLT позволило произвести одно из первых массовых применений гибридной толстоплёночной технологии. Одновременно с этим проявился и недостаток подобного конвейерного производства: невозможность ремонта модулей SLT, в случае отказа. При поломке неисправный модуль заменялся на новый, так как данная технология заключается в создании цельных логических модулей, без возможности их ремонта.

Однако эта индустриализация вскоре столкнулась с новой проблемой: человеческим фактором. Рукописные чертежи и ручные калькуляторы не справлялись с проектированием плат для следующих поколений мейнфреймов, где количество соединений исчислялось уже тысячами. Инженеры упёрлись в физические пределы собственной концентрации и скорости работы. Именно этот кризис сложности заставил индустрию искать принципиально новые инструменты проектирования, породив эру компьютерного автоматизированного проектирования (CAD).

К концу 1960-х рост сложности плат для аэрокосмической и военной техники сделал ручное проектирование непрактичным. Появление первых коммерческих систем CAD (Computer-Aided Design) для черчения плат, таких как упомянутая выше Applicon, ознаменовало начало конца эпохи кульмана. Инженеры, ведомые необходимостью, начали доверять машинам создание машин, закладывая фундамент для следующей революции — выхода печатных плат в потребительский рынок.

Фактически, инженеры-конструкторы оказались в роли картографов, пытающихся вручную нарисовать схему метро для города, который ещё не достроен. Сложность печатных плат для новых мейнфреймов и военных систем перевалила за критический порог. Типичная плата для коммуникационного оборудования содержала до 1500-2000 отдельных соединений. Как и говорилось, проектирование такой платы вручную занимало у команды из двух инженеров до трех месяцев и требовало создания 15-20 исправленных версий чертежей из-за неизбежных ошибок. Стоимость одной такой ошибки, обнаруженной на этапе производства, могла достигать $50 000 из-за брака всей партии дорогостоящих многослойных заготовок.

Пионерские системы, подобные Applicon и Computervision (1969), доказали саму возможность компьютерного проектирования, но их распространение сдерживалось двумя роковыми недостатками: чудовищной стоимостью ($150 000 +$50 000 за дополнительное рабочее место, это в 1972 году, учитывая инфляцию доллара можно на сегодня умножать эти числа на 5) и примитивной функциональностью. Эти системы, работавшие на мейнфреймах типа PDP-11, были финансово недоступны для 99% компаний. Их интерфейс — комбинация светового пера и текстовых команд — был настолько не интуитивным, что обучение нового инженера занимало месяцы. Фактически, они автоматизировали не процесс проектирования, а лишь процесс черчения, оставляя всю интеллектуальную нагрузку по поиску оптимальных путей для дорожек на человека.

Переломный момент наступил в середине 1970-х с появлением двух ключевых технологий: мини-компьютеров и растровых дисплеев. Всё та же компания Applicon, основанная выпускниками MIT, и Gerber Systems Corporation, до этого специализировавшаяся на оборудовании для швейной промышленности, практически одновременно представили системы, которые стали прообразом современного CAD.

Их революционность заключалась в трёх аспектах, которые сегодня кажутся обыденностью:

  1. Интерактивность. Благодаря растровым монохромным дисплеям инженер мог видеть изменения в разводке дорожек в реальном времени. Исчезла необходимость в бесконечной распечатке чертежей для проверки.
  2. База данных. Система хранила не просто изображение, а цифровую модель платы со всеми электрическими связями (netlist). Это позволяло программно проверять целостность схемы, выявляя обрывы и короткие замыкания до отправки на производство.
  3. Библиотеки компонентов. В память компьютера были занесены стандартные посадочные места и электрические параметры распространённых микросхем. Инженер больше не тратил часы на вычерчивание контактов каждой DIP-микросхемы.

К 1978 году стоимость типичной CAD-рабочей станции немного снизилась, до $80 000-120 000, что сделало её рентабельной для средних компаний, производивших, к примеру, медицинское оборудование или телекоммуникационные системы. Производительность труда выросла в 3-5 раз. Но что важнее, CAD-системы начали накапливать интеллектуальный капитал. Удачные решения опытных инженеров, сохранённые в виде шаблонов и правил, могли теперь тиражироваться и использоваться менее квалифицированными сотрудниками. Это был конец эпохи инженера-виртуоза, работающего по наитию, и начало эры системного проектировщика, чья работа всё больше напоминала диалог с машиной, обладающей собственной, пусть и ограниченной, логикой.

Гибкие миры. Как аэрокосмос согнул электронику

Пока одни инженеры сражались с двумерным хаосом на текстолитовых плоскостях, другие пришли к выводу, что сама природа электроники не должна ограничиваться прямыми углами и жёсткими формами. В середине 1960-х аэрокосмическая отрасль столкнулась с парадоксом: стремительный рост сложности бортовой электроники требовал всё больше места, тогда как законы аэродинамики и ракетостроения диктовали жёсткие ограничения по весу и объёму. Стандартные жёсткие печатные платы с их прямоугольными формами становились серьёзным препятствием при компоновке аппаратуры в тесных отсеках спутников и ракет.

Систематические исследования в этой области начались ещё в начале 1960-х в рамках программ NASA «Аполлон» и «Джемини». Инженеры искали способ заменить жгуты проводов, которые составляли до 15% массы электронных систем и были основным источником отказов из-за вибрации. Решение пришло из авиастроительного гиганта Lockheed. В 1960-х годах инженеры аэрокосмической отрасли, в частности из компании Lockheed, активно работали над заменой тяжёлых жгутов проводов. Ключевым прорывом стало появление новых материалов, прежде всего полиимидной плёнки (известной под торговой маркой Kapton от DuPont, 1965 г.), которая могла выдерживать экстремальные температуры и механические нагрузки. Технологии того времени, основанные на травлении медной фольги, уже позволяли создавать проводящие дорожки на такой гибкой основе. К концу десятилетия гибкие платы стали стандартом для американской авионики и космических программ, таких как «Аполлон».

Ключевым моментом стал выбор материала. Полиимид уже применялся в качестве термостойкой изоляции в авиации. Его характеристики были уникальны: рабочий диапазон температур от -269°C до +400°C, высокая радиационная стойкость и исключительная механическая прочность при толщине всего 25-50 микрометров. Однако за эти преимущества приходилось платить: стоимость материала превышала цену стандартного текстолита в 20-30 раз, что изначально ограничивало применение гибких плат исключительно оборонными и космическими программами.

Первое массовое применение гибкие платы нашли в скафандрах программы «Аполлон», где требовалась максимальная компактность и устойчивость к многократным изгибам. К 1971 году технология была достаточно отработана для использования в системах наведения межконтинентальных баллистических ракет Minuteman III, где гибкие шлейфы соединяли блоки управления в условиях жёстких вибрационных нагрузок.

Производство таких плат требовало совершенно новых подходов. Их производили теми же методами травления, что и обычные платы, но обращаться с ними приходилось как с яичной скорлупой. Весь технологический процесс — от сверления до пайки — требовал переосмысления. Если для обычных ПП допуск по ширине дорожки составлял ±0.1 мм, то для гибких схем он ужесточался до ±0.05 мм. Процесс пайки компонентов проводился с использованием специальных кондукторов, предотвращающих деформацию основы, а для защиты схем применялось покрытие на основе жидкого фотоотверждаемого полимера толщиной всего 10-15 мкм.

Это специализированный материал, который наносится на поверхность гибкой платы в жидком виде, а затем засвечивается через фотомаску ультрафиолетом. На освещённых участках он полимеризуется и твердеет, формируя защитное покрытие, а с незасвеченных участков его затем смывают, открывая контактные площадки для пайки компонентов. Это была принципиально иная технология по сравнению с защитой жёстких плат, где использовались сухие плёночные маски, непригодные для гибких оснований из-за риска растрескивания при изгибе.

К концу 1970-х годов гибкие печатные платы стали стандартом для аэрокосмической отрасли, позволив уменьшить массу электронных систем на 18-25% по сравнению с традиционными решениями. Они были неудобными, дорогими и капризными, но именно они позволили ракетам думать, а спутникам — видеть, скручиваясь в самых невообразимых позах в невесомости. Их успех доказал, что электроника может принимать любые формы, необходимые для выполнения задачи, — даже если для этого приходилось буквально сгибать устоявшиеся принципы производства. Технология, рождённая для покорения космоса, вскоре нашла применение в медицинской технике и профессиональной электронике.

Персональная революция. Как ПП пришли в каждый дом

Вернёмся к началу 1970-х. Печатные платы окончательно покинули стерильные залы университетских лабораторий и секретные военные объекты, чтобы начать своё триумфальное шествие в жилые гостиные и на офисные столы. Этот переход от элитарной технологии к массовому продукту был стремительным и необратимым. Если в 1965 году среднестатистический американец мог ни разу в жизни не увидеть печатную плату, то к 1975 году он ежедневно взаимодействовал с десятками устройств, в недрах которых притаился этот унифицированный технологический сорняк.

Первый массовый удар по общественному сознанию нанёс карманный калькулятор. Hewlett-Packard HP-35, выпущенный в 1972 году по цене $395 (около $2500 в сегодняшних деньгах), произвёл эффект разорвавшейся бомбы. Это было первое в мире карманное вычислительное устройство, способное выполнять трансцендентные функции.

Это математические функции, не являющиеся алгебраическими (например, тригонометрические, логарифмические, показательные). Калькулятор HP-35 как раз и был революционным потому, что умел вычислять sin, cos, log, ex и т.д., в отличие от более простых моделей, которые выполняли лишь четыре основных арифметических действия.

Внутри его изящного корпуса размещалась печатная плата с тремя интегральными схемами собственной разработки HP. Устройство потребляло всего 0.5 Ватта от перезаряжаемых батарей, что было бы принципиально невозможно при ламповой или даже транзисторной схемотехнике с навесным монтажом. Успех HP-35 был ошеломляющим — за первый год продаж было реализовано более 100,000 экземпляров, несмотря на запредельную стоимость.

Но настоящую революцию совершили персональные компьютеры. 1977 год вошёл в историю как «святая троица» микрокомпьютеров: на рынок практически одновременно вышли Commodore PET 2001, Apple II и TRS-80 Model I. Каждая из этих машин была концептуально новой парадигмой.

Commodore PET с его встроенным монитором и магнитофоном представлял собой законченную рабочую станцию. Apple II, творение Стива Возняка, поражало своей продуманной архитектурой — оно использовало всего 62 интегральные микросхемы благодаря гениальной схемотехнической оптимизации, и все они размещались на одной печатной плате. TRS-80 от Radio Shack, стоивший всего $599, стал компьютером для масс, разойдясь тиражом более 250,000 единиц за время производства.

При запуске производства планировалось продать 3500 единиц. Никто, включая самих создателей, не подозревал, что запускает конвейер по производству цифрового никотина — продукта, без которого цивилизация скоро уже не сможет сделать и шага.

Объединяло эти машины одно: их «мозги» и «нервная система» были реализованы на печатных платах. Платы в этих компьютерах уже не были простыми монтажными панелями. Они стали сложными многослойными структурами, где помимо сигнальных дорожек были предусмотрены шины питания и заземления, а также решены задачи целостности сигналов на тактовых частотах в несколько мегагерц — невиданные скорости для бытовой техники того времени.

К 1980 году печатная плата стала таким же обычным компонентом бытовой электроники, как электрическая вилка или выключатель. Технология, ещё 15 лет назад бывшая стратегическим секретом, теперь продавалась в виде заготовок в радиомагазинах и собиралась школьниками на уроках труда. Демократизация электроники состоялась именно благодаря тому, что печатная плата позволяла тиражировать сложные устройства с минимальными затратами — себестоимость производства одной платы для Apple II составляла менее $20, в то время как ручная сборка аналогичной схемы обошлась бы в сотни долларов.

Это массовое распространение породило новый вызов — стремительный рост сложности самих плат. Если в первых персональных компьютерах использовались преимущественно двусторонние платы, то к середине 1980-х материнские платы IBM PC/AT уже содержали 4-6 слоёв, а рабочая частота процессора Intel 80286 достигла 12 МГц.

Та же массовость повлекла за собой и первую волну стандартизации. Если в мире мейнфреймов каждая плата была штучным изделием, то теперь производители стремились унифицировать базовые параметры: толщину фольги, диаметры монтажных отверстий, шаг выводов микросхем. Зарождалась новая экосистема — индустрия готовых печатных плат для любителей и мелких серий. Такие компании, как Vector Electronics, начали выпускать макеты плат с уже нанесённой координатной сеткой, что позволяло радиолюбителям самостоятельно разводить дорожки, даже не имея доступа к фотолитографии. Персональный компьютер в некотором смысле не просто использовал печатные платы — он демократизировал доступ к их созданию, пусть и в упрощённой форме.

Рождение цифрового стандарта: формат Gerber

Снова вернёмся чуть назад, к концу 1970-х: переживая бурное развитие, индустрия проектирования печатных плат столкнулась с проблемой вавилонского столпотворения. Каждый производитель CAD-систем использовал собственный, закрытый формат данных. Файл, созданный в системе Applicon, был бесполезен для оборудования Gerber Systems Corporation. Это создавало технологический тупик: конструктор не мог отправить проект на современное производство без многоступенчатых преобразований через бумажные чертежи или перфоленты. Ситуация стала критической с распространением автоматических фотоплоттеров — устройств, которые по цифровым данным рисовали фотошаблоны для плат с точностью до 0.001 дюйма. Без универсального языка общения между софтом и железом автоматизация производства оставалась фикцией.

В 1980 году компания Gerber Systems Corporation представила формат, который изначально создавался как внутренний стандарт для управления их собственными фотоплоттерами. По иронии судьбы, решение, разработанное для конкретного оборудования, стало де-факто универсальным языком для всей индустрии. Формат Gerber (позже известный как RS-274D) был элегантен в своей простоте. Это был, по сути, ASCII-файл, содержащий последовательность команд для фотоплоттера: переместить в точку (D02), включить диафрагму и нарисовать линейный сегмент (D01), выбрать другую диафрагму (D03). Набор стандартных апертур (кругов, овалов, прямоугольников) позволял формировать дорожки и контактные площадки.

К 1982 году формат Gerber стал ожидаемым стандартом для большинства американских и европейских производителей печатных плат. Его распространению способствовала не только техническая простота, но и бизнес-модель Gerber Systems — они продавали оборудование, а не лицензии на формат. Любая компания могла бесплатно реализовать его поддержку в своём ПО. К середине 1980-х возникла новая проблема: Gerber описывал только геометрию рисунка, но не содержал информации о назначении слоёв (сигнальный, земля, питание) или структуре многослойной платы. Это приводило к ошибкам при производстве, когда технолог на заводе мог перепутать силовой слой с монтажным или шелкографией.

Ответом стало появление в 1986 году формата Gerber X (RS-274X), который включил в себя возможность определять пользовательские апертуры и добавлять элементарные управляющие команды прямо в файл. Это позволило описывать паяльную маску и шелкографию без создания отдельных файлов спецификаций. Однако настоящую революцию в стандартизации произвело появление в 1997 году формата ODB++ (сначала просто ODB, в 1995) — иерархической базы данных, содержащей не просто геометрию, но и всю информацию о компонентах, слоях и технологических требованиях. Несмотря на очевидные преимущества нового формата, Gerber устоял благодаря своей простоте и инерции индустрии. К 2000 году более 85% мирового производства печатных плат так или иначе использовало Gerber-файлы на одном из этапов, что сделало его технологическим эквивалентом английского языка в международной авиации — не идеальным, но понятным всем. Формат, рождённый для управления конкретным оборудованием, стал тем цементом, который скрепил глобальную индустрию, позволив конструктору из Калифорнии и фабрике в Тайване говорить на одном языке, даже не зная друг друга.

Две супердержавы, один текстолит

Прежде чем хронология двинется дальше, вперёд, к заполонившим всё персоналкам и интернету, стоит на мгновение остановиться. Западная история микроэлектроники — это классическое повествование о рынке, стартапах и частной инициативе. Но у технологии была и вторая, параллельная жизнь за Железным занавесом — геополитическим барьером, возведённым капиталистами в рамках глобального противостояния систем. В этих условиях развитие печатных плат в СССР подчинялось не требованиям потребительского спроса, а суровой логике пятилеток и императивам технологического паритета в условиях, когда Запад активно использовал экспортные ограничения и технологические эмбарго. Пока Килби и Нойс соревновались за патенты в Кремниевой долине, в Зеленограде и Минске инженеры решали те же задачи, но с принципиально иной мотивацией: не завоевать рынок, а обеспечить обороноспособность и технологический суверенитет, работая в режиме постоянного «догоняющего развития», навязанного внешним давлением и постоянной угрозы физического уничтожения. Эта интерлюдия — взгляд на ту же самую технологическую революцию, но преломлённую через призму советской системы, её амбиций, её успехов и её фундаментальных противоречий.

Часть 5: Интерлюдия. Национальные траектории. США vs СССР

Американский путь. Рынок, DARPA и закон Мура

В США развитие печатных плат с самого начала определялось триадой «рынок — госзаказ — венчурный капитал». Если в 1950-е годы главным драйвером были армейские программы типа «Tinkertoy», то с начала 1960-х инициатива начала стремительно смещаться в частный сектор. Однако государство, в лице таких организаций как Агентство по перспективным оборонным научно-исследовательским проектам (DARPA), созданное в 1958 году в ответ на запуск советского спутника, никогда не уходило полностью. Оно действовало не как директивный орган, а как стратегический катализатор: формулировало сверхзадачи и финансировало высокорисковые исследования на самых ранних стадиях, выводя технологию на принципиально новый уровень, после чего её подхватывал и коммерциализировал бизнес.

Ярким примером такой симбиотической модели стала программа VHSIC (Very High Speed Integrated Circuits), запущенная Пентагоном в 1980 году. Её общий бюджет составил астрономические по тем временам $900 миллионов. Прямой целью было увеличение быстродействия микросхем в 100 раз за шесть лет. Это требование немедленно и напрямую ударило по смежной отрасли — производству печатных плат. Инженеры впервые столкнулись с эффектами, которыми прежде пренебрегали: паразитная ёмкость, индуктивность дорожек, перекрёстные наводки. Платы перестали быть пассивными монтажными панелями; они превращались в сложную электродинамическую систему, где геометрия каждой дорожки и её расположение относительно земли критически влияли на форму и целостность цифрового импульса с фронтами менее 1 наносекунды.

Параллельно, на Западном побережье, в регионе, который вскоре назовут Кремниевой долиной, зарождалась совершенно новая, авантюрная культура, которая определит лицо глобальной электроники на десятилетия вперёд. Сформулированное Гордоном Муром в 1965 году эмпирическое наблюдение — о том, что число транзисторов на чипе удваивается примерно каждые два года — из прогноза превратилось в самоисполняющееся пророчество и бизнес-план всей индустрии. Этот «Закон Мура» создавал постоянное, неумолимое давление на смежные технологии. Каждое новое поколение чипов, от легендарной серии 7400 в 1960-х до 32-битных микропроцессоров в 1980-х, требовало от печатных плат большей плотности монтажа, большего количества слоёв, более строгого контроля импеданса и материалов с улучшенными диэлектрическими свойствами.

К 1985 году это давление привело к качественному скачку. Платы для высокопроизводительных рабочих станций от Sun Microsystems и Apollo Computer уже были 8-10 слойными, а тактовая частота шин данных приближалась к 25-33 МГц. Стандартом де-факто для таких изделий стал FR-4 с низкой диэлектрической проницаемостью, а для межслойных соединений массово применялись не только сквозные, но и глухие переходные отверстия, что позволяло экономить ценное пространство на внешних слоях. В это же время набирала обороты революция поверхностного монтажа (SMD), которая радикально меняла подход к компоновке, требуя от конструкторов осваивать проектирование печатных плат для установки компонентов в корпусах PLCC, SOIC и, позднее, QFP.

Ключевым системным отличием американской модели была её глубокая экосистемность. Производитель печатных плат, фабрика по производству чипов, разработчик CAD-софта (такие как Mentor Graphics, основанная в 1981 году) и венчурный инвестор существовали в тесном симбиозе, объединённые общими стандартами (тот же Gerber) и рыночной логикой. Кризис или технологический тупик в одном звене немедленно компенсировался усилиями и инновациями других.

Эта гибкая, децентрализованная, порой хаотичная сеть оказалась невероятно устойчивой и продуктивной. Однако было бы ошибкой считать, что по другую сторону железного занавеса царил технологический застой. Советская инженерная школа на ранних этапах — в 1950-60-х годах — демонстрировала феноменальные результаты, от полёта в космос до создания уникальных вычислительных систем, где печатные платы зачастую проектировались с опережением западных аналогов. Проблема заключалась не в отсутствии талантов или идей, а в нараставшем с 1970-х годов системном разрыве: американская экосистема могла позволить себе быстро тиражировать и коммерциализировать любую удачную разработку, тогда как советская плановая система, идеально работавшая на прорывные точечные проекты, оказалась менее приспособленной для гибкого реагирования на стремительно меняющемся технологическом ландшафте.

Советский путь. Технологический суверенитет по плану

Ранний старт и первые успехи (1950-е — 1960-е)

При царе-батюшке радиозаводов было 5, три из них были филиалами иностранных фирм, причём не производящими, а простыми сборочными мастерскими, получавшие полуфабрикаты из-за границы. В нашей истории они участия не принимают.

История печатных плат в СССР началась практически синхронно с западной, движимая схожими императивами — необходимостью массового производства надёжной электроники для новых сложных систем. Уже в 1953 году, всего через десятилетие после патента Эйслера, в московском НИИ-20 (позднее ВНИИРТ — Всесоюзный научно-исследовательский институт радиотехники), КБ-1 (Москва) под руководством А.К. Катмана и М.А. Вицен, в НИТИ-18 (Ленинград) в лаборатории М.П. Николаева и В.А. Калмыковой в ЦНИТОП (Горький) в Институте электротехнической про­мышленности (Истра) С.А. Шапиро и ряда других организаций, начались первые систематические эксперименты по субтрактивному методу и разработке решений для создания РЭА. Параллельно, практически без обмена информацией, аналогичные разработки стартовали в ленинградском НИИ-131 (специализация — аппаратура связи) и в киевском Институте кибернетики АН УССР, где платы создавались для первых советских ЭВМ серии «Днепр». С 1956 г. Московский завод «Изолит» приступил к промышленному выпуску фольгированного гетинакса.

Первые советские печатные платы, появившиеся в серийной аппаратуре во второй половине 1950-х (например, в переносных армейских радиостанциях «Ангара» и измерительных приборах), мало чем уступали западным аналогам по базовым параметрам. Более того, в некоторых прикладных областях советские инженеры, не связанные патентными ограничениями, демонстрировали опережающие и нестандартные решения. Одним из таких ноу-хау стала технология комбинированного монтажа, когда на одну плату устанавливались как печатные проводники, так и навесные компоненты в гибридном исполнении — это повышало ремонтопригодность в полевых условиях, что было критически важно для военной техники.

Ярким примером передовых разработок стала бортовая аппаратура для космической программы. В 1961 году, для корабля «Восток-1», уже использовались не примитивные односторонние платы, а платы с высокой плотностью монтажа, изготовленные по бессубстрактной1 технологии — проводящий рисунок наносился непосредственно на фольгированный диэлектрик, что повышало стойкость к вибрациям и термическим ударам. При этом советская школа изначально делала стратегическую ставку на сверхнадёжность и ремонтопригодность в ущерб максимальной миниатюризации. Компоненты часто крепились не только пайкой, но и дополнительными механическими зажимами, а сами платы проектировались с расчётом на быструю замену любой микросхемы или транзистора силами технического персонала средней квалификации — философия, кардинально отличавшаяся от западного подхода «заменим весь модуль».

¹ Под «бессубстрактной технологией» авторы подразумевают метод изготовления печатных плат, при котором проводящий рисунок (фольга) и диэлектрическое основание формируются в единый, неразрывный монолит в процессе термопрессования, в отличие от более ранних методов наклейки фольги на готовый субстрат. Это обеспечивало превосходную механическую и термическую стойкость, что было критично для космической и военной аппаратуры.

К середине 1960-х в СССР сложилась мощная, хотя и жёстко централизованная, научно-производственная кооперация. По некоторым данным, в 1962 году производстве ЭКБ участвовали 256 серийных заводов, в том числе:  

  • 33 завода по производству радиодеталей;
  • 13 заводов по производству полупроводниковых приборов;
  • 24 завода по производству радиоаппаратуры;
  • 16 заводов по производству телевизионной аппаратуры;
  • 8 заводов по производству приёмно-усилительных радиоламп;
  • 6 заводов по производству электронно-лучевых трубок.

Разработкой новых образцов электронной техники и технологии её изготовления были заняты 163 НИИ и ОКБ.

Заводы размещались на всей территории СССР. Одними из важных и крупных производств стали:

  • Воронежский завод полупроводниковых приборов (ВЗПП, «Завод 111»). В 1959 году начал производство первых в стране германиевых диодов и транзисторов.
  • Рижский завод полупроводниковых приборов (город Рига). В 1962 году в ОКБ завода по заказу НИИРЭ разработана первая в СССР полупроводниковая интегральная схема Р12-2 (серия 102).
  • Смоленский завод радиодеталей (Смоленск) — одно из крупнейших предприятий по производству коммутационных изделий в СССР.
  • Тираспольский завод «Молдавизолит» — приступил к выпуску фольгированного стеклотекстолита, включая тонкие фольгированные диэлектрики для производства многослойных печатных плат.
  • Казанский завод «Коммунар» — освоил серийное производство сухих плёночных фоторезистов, как водопроявляемых, так и органопроявляемых.
  • Завод в Минске (будущий Интеграл) — построен по решению Минрадиопрома, оснащён оборудованием для выпуска многослойных печатных плат (МПП).
  • Производственное объединение «Фотон» (Ташкент) — изначально ламповый завод, был эвакуирован из Фрязино в годы войны. К 60-м годам начал выпуск полупроводников (транзисторов, диодов).

Именно в этот период проявилось ключевое системное преимущество плановой экономики — способность концентрировать колоссальные ресурсы на прорывных направлениях, определённых в результате научного подхода. Пока на Западе сотни производителей боролись за потребительский рынок, в СССР печатные платы развивались прежде всего для нужд «большой тройки»: космоса (НИИ и КБ при Минобщемаше), обороны (НИИ Министерства обороны) и научного приборостроения (Академия наук). Это обеспечивало стабильное, пусть и бюрократизированное, финансирование и высочайшие, подчас завышенные, требования к качеству и надёжности. Однако параллельно создавался нарастающий структурный разрыв между высокотехнологичным военно-промышленным комплексом (ВПК) и гражданским сектором, где вплоть до начала 1970-х в телевизорах, радиоприёмниках и магнитофонах всё ещё безраздельно доминировал архаичный навесной монтаж. Страна, способная создавать электронику для полёта к Венере, в быту своего гражданина довольствовалась технологиями уровня середины 1950-х.

Большой рывок. Госпрограмма 1976 года и её последствия

К началу 1970-х годов в советском Министерстве радиопромышленности (МРП) сформировалось трезвое, если не сказать тревожное, понимание нарастающего технологического отставания от Запада в гражданском секторе электроники. В то время как ВПК ещё держал марку, массовый рынок наводняла бытовая техника с архаичным навесным монтажом. Осознание необходимости массового производства бытовых товаров вылилось в серьёзное по масштабам решение — принятие в 1976 году специального Постановления ЦК КПСС и Совета Министров СССР «О развитии в 1976-1980 гг. производства товаров массового спроса и о мерах по повышению их качества».

Программа включала сокращение отставания производства кремниевых полупроводников и ИС путём закупки современных производственных линий для диффузии, металлизации, эпитаксии, фотолитографии. Её бюджет оценивался минимум в 40 миллионов долларов, что было сопоставимо с финансированием крупной космической программы. Деньги были направлены на тотальную модернизацию отрасли, и ключевым элементом стратегии стала масштабная закупка передовых западных технологий. Это было время разрядки, и «идеологическому противнику» было выгодно продавать станки, а не ракеты, поэтому западные фирмы, в том числе и из США, охотно обходили запреты стран COCOM.

В период с 1977 по 1982 год (некоторые закупки проводились и раньше, с 1965 года) в СССР были закуплены и введены в эксплуатацию десятки полностью укомплектованных технологических линий:

  • Из ФРГ — автоматические линии для сверления и фрезерования от компании Schmoll.
  • Из Швейцарии — установки для фотолитографии и прецизионного травления.
  • Из Италии — системы гальванической металлизации отверстий.
  • Из США (через европейских посредников для обхода эмбарго) — контрольно-измерительная аппаратура, оборудование для сборки микросхем.
  • Из Франции — целый завод по производству многослойных печатных плат (МПП) фирмы CII.

Однако «большой рывок» столкнулся с системными проблемами советской экономики. Купить оборудование оказалось проще, чем интегрировать его в плановую систему. Хроническими стали проблемы с «мелочёвкой»: химическими реактивами, свёрлами, фоторезистами. Западные линии требовали расходников с жёсткими допусками, которые советская химическая промышленность часто обеспечить не могла. Это приводило к простоям дорогостоящего оборудования или вынуждало технологов идти на кустарные доработки, сводя на нет преимущества импортной точности.

Ирония судьбы заключалась в том, что этот, казалось бы, успешный рывок, заложил мину под технологический суверенитет страны. Стратегия тотальных закупок вместо развития собственной индустрии станкостроения и химии для микроэлектроники создала роковую зависимость. Когда в 1980-х годах в рамках программы COCOM Запад начал ужесточать эмбарго на поставки передового оборудования, СССР столкнулся с невозможностью не только развиваться, но даже поддерживать уже созданное. Страна, способная проектировать уникальные платы для систем ПВО, оказалась не в состоянии наладить массовый выпуск собственного текстолита для них. Гонка за быстрым результатом через импорт подменила собой стратегию построения замкнутого технологического цикла. Этот фундаментальный просчёт аукнется в 1990-е, когда остановленные из-за отсутствия запчастей импортные линии станут символами не состоявшейся модернизации.

К примеру, на Казанском заводе ЭВМ, уже с 1972 года начали переход к выпуску ЭВМ серии ЕС, которые копировали IBM 360, хотя до этого выпускали полностью отечественные М-20, М-220, М-222.

Кстати, именно на казанской М-20 разрабатывалась траектория полёта корабля «Восток-1» Юрия Гагарина. Отработку программ из 100 задач вычислительный центр №1 министерства обороны СССР производил в стенах казанского завода.

Тем не менее, к 1985 году программа в целом достигла своей тактической цели. Доля аппаратуры с печатным монтажом в гражданском секторе выросла с 15% до 85%. СССР вошёл в число мировых лидеров по производству многослойных плат (до 8-10 слоёв) для вычислительной техники, таких как ЕС ЭВМ и СМ ЭВМ. Страна доказала, что способна совершить технологический скачок, мобилизовав ресурсы. Но программа также обнажила роковую зависимость: советская микроэлектроника стала заложником западных технологических цепочек. Когда в начале 1980-х в связи с очередным обострением Холодной войны экспортные лицензии стали ужесточаться, стало ясно, что следующий виток развития — переход к субмикронным технологиям — без собственной научно-производственной базы будет невозможен. Осознание этого факта привело к новой, уже финальной фазе — этапу теоретических побед и практического тупика.

Теоретические победы и практический тупик (1980-е)

К началу 1980-х советская школа проектирования печатных плат достигла своего теоретического апогея. Пока промышленность осваивала импортные линии, научно-исследовательские институты — прежде всего ВНИИРТ, МИЭТ и Ленинградский электротехнический институт (ЛЭТИ) — работали на опережение. Именно в этот период были разработаны фундаментальные принципы построения многослойных плат (МПП) с числом слоёв до 14-16, теоретически не уступавшие лучшим западным образцам. Советские инженеры-теоретики одними из первых в мире начали масштабное исследование проблем целостности сигнала (SI) и электромагнитной совместимости (ЭМС) — вызовов, которые остро встанут на Западе лишь с распространением рабочих частот выше 50 МГц.

Особых успехов СССР добился в области гибридных микросхем и специализированных материалов. В НИИ «Гиредмет» были созданы керамические подложки с температурным коэффициентом расширения (ТКР), согласованным с кремниевыми кристаллами, что позволяло создавать высоконадёжные сборки для военной и космической техники. В Институте химии силикатов АН СССР разработали принципиально новые виды полиимидных диэлектриков с низкой диэлектрической проницаемостью (до 3.2), превосходившие по термостойкости американский Kapton.

Однако между теоретическими наработками и промышленным внедрением зияла пропасть. Пока в институтских отчётах описывались технологии микропереходных отверстий и лазерного сверления, серийные заводы с трудом осваивали 6-слойные платы с механическим сверлением. Разработанный в 1985 году в Зеленограде проект полностью автоматизированной линии для производства МПП так и остался на ватманах — отечественное станкостроение не смогло обеспечить необходимой точности, а закупить аналогичное оборудование на Западе к тому моменту уже не позволяли ограничения COCOM.

Кризис достиг кульминации во второй половине 1980-х. С началом Перестройки финансирование оборонных программ стало сокращаться, а госзаказ — хаотически пересматриваться. Высокотехнологичные производства, десятилетиями работавшие по стабильным планам, оказались в подвешенном состоянии. Молодые инженеры массово уходили в кооперативы, занимавшиеся сборкой примитивной потребительской электроники из азиатских комплектующих. Научные школы стремительно деградировали, а уникальные технологические заделы — такие как собственная разработка полуаддитивных процессов (SAP), начатая ещё в 1982 году, — оказались невостребованными.

К 1991 году отрасль представляла собой причудливую смесь устаревшего, но функционирующего импортного оборудования, блестящих теоретических разработок, не имевших выхода в производство, и нарастающей технологической зависимости от зарубежных комплектующих. Фактически, к моменту распада СССР его микроэлектроника, несмотря на отдельные прорывы, уже проиграла стратегическую гонку. Она подошла к финишу с чемоданом патентов и научных отчётов, но без реальной возможности для их промышленной реализации — тяжёлое наследие, которое будет довлеть над российской электроникой ещё долгие годы.

Параллельная реальность. Гонка суперкомпьютеров как отражение системного противостояния

Пока гражданский сектор боролся с проблемами внедрения, в закрытых научно-исследовательских институтах СССР кипела своя, невидимая миру война — гонка суперкомпьютеров. Если для Запада супер-ЭВМ были инструментом научного и коммерческого превосходства, то для Советского Союза они стали вопросом выживания. Без них были невозможны ни точное прогнозирование траекторий баллистических ракет, ни моделирование ядерных взрывов, ни расшифровка данных спутников-шпионов.

К слову, 4 марта 1961 года на полигоне Сары-Шаган (Казахстан) состоялось первое в мировой истории успешное поражение головной части баллистической ракеты противоракетой. Ракета Р-12 была запущена с полигона Капустин Яр, а противоракета В-1000 системы «А» (экспериментальный прототип А-35) перехватила её на высоте около 25 км.
Головным разработчиком системы и её радиолокационных станций (РЛС) было КБ-1 (ныне в составе Концерна ПВО «Алмаз-Антей»), под руководством главного конструктора Г. В. Кисунько.
Это произвело эффект разорвавшейся бомбы в Вашингтоне. Американская доктрина «гарантированного взаимного уничтожения» внезапно дала трещину. Если СССР может сбивать баллистические ракеты, то ядерный паритет, основанный на уязвимости обеих сторон, оказывался под вопросом. США лишались своего главного козыря. Опосредованно это была одна из причин Карибского кризиса и, в дальнейшем — «Détente», разрядки в 70-х.

 Но, конечно, трудились суперкомпьютеры и в Госплане, и в Минобщемаше, и в АН. Плановая экономика — как раз идеальная точка приложения для машин, умеющих оперировать большими массивами данных. До 1952 года единственной ЭВМ, действующей в СССР, была МЭСМ, разработанная Лебедевым. В дальнейшем, под его же руководством были разработаны ЭВМ серии БЭСМ.

  • МЭСМ: Навесной монтаж, проводные соединения, лампы

  • БЭСМ: Переходный период (ПП + навесной монтаж). Элементно-конструкторская база: двух- и четырёхламповые блоки (ячейки), в которых смонтированы различные схемы (триггеры, вентили, усилители и т.д.), и соединительные платы без активных элементов.

  • БЭСМ-2: Печатные платы как основная технология. Широкое применение полупроводниковых диодов. Количество полупроводниковых диодов 5 тыс., электронных ламп 4 тыс. Количество ферритовых сердечников 200 тыс. Усовершенствованная (мелкоблочная) конструкция, значительно повысившая надёжность и удобство эксплуатации. Применены разъёмы с плавающими контактами.

За ними последовали М-20, БЭСМ-4, М-220, М-222. Машины М-220 и М-222 конструктивно выполнялись в виде комплекса шкафов с однорядным размещением ячеек. Электронные компоненты размещались на платах 200×120 мм, имеющих печатный монтаж. Вершиной развития стала ЭВМ второго поколения БЭСМ-6, построенная полностью на полупроводниках и печатных платах.

 

БЭСМ-6: Ручная работа

Ещё до появления американских Cray СССР создал машину, которая на десятилетие задала планку. БЭСМ-6, разработанная под руководством Сергея Лебедева и принятая в эксплуатацию в 1967 году, была чудом советской инженерной мысли. При тактовой частоте всего 9 МГц она достигала производительности 1 миллион операций в секунду за счёт продуманной конвейерной архитектуры. Каждая плата в составе ЭВМ представляла собой сэндвич из фольгированного стеклотекстолита, где слои соединялись штырьковыми разъёмами и однослойными печатными платами — решение, опередившее время, но абсолютно нетехнологичное для массового производства того времени, так как монтаж осуществлялся при помощи ручной пайки. Всего было выпущено около 355 этих машин, каждая из которых была по-своему уникальна.

  • Для установки компонентов использовались двусторонние печатные платы.

  • Система соединений (главный прорыв): Вся машина собиралась из 120 типов однотипных ячеек (плоских модулей). Эти ячейки представляли собой многослойные (до 4-6 слоёв!) печатные платы с уже нанесёнными печатными проводниками. Они вставлялись в специальные соединительные платы-колодки с двух сторон стоек, оставляя посередине монтажные провода, образуя сложные блоки.

ПС-2000 и 3000. Векторный прорыв

В 1970-х годах в СССР был создан уникальный высокопараллельный мультипроцессор ПС-2000, архитектура которого принципиально отличалась от традиционных ЭВМ. Это была SIMD-система (один поток команд — множество потоков данных), где одно общее устройство управления одновременно руководило работой от 8 до 64 идентичных процессорных элементов. Такая архитектура идеально подходила для обработки огромных массивов однотипных данных в геофизике, метеорологии и обработке спутниковой информации, обеспечивая производительность до 200 миллионов операций в секунду.

Технологической основой ПС-2000 стали четырёхслойные печатные платы стандарта Е2, на которые монтировались проверенные советские микросхемы серий К155 и К531 (ТТЛШ). Процесс сборки был автоматизирован: использовалось штамповка и литье для корпусов и соединителей, а вся система компоновалась из унифицированных модулей-шкафов. Эта модульная конструкция в сочетании с неприхотливой элементной базой обеспечила феноменальную ремонтопригодность и возможность работы в полевых условиях.

Элементная база мультипроцессора ПС-2000 - интегральные микросхемы средней степени интеграции типа К531 (с диодами Шоттки), К155, ОЗУ - К565 РУ5, К565РУ6.

Устройства ПС-2000 реализованы на базе унифицированных конструкций СМ ЭВМ. Блоки элементов - на основе печатных плат типа Е2 (233 х 220 мм).

Платы четырёхслойные по 4-му классу, материал - гальваностойкий стеклотекстолит СФ или стеклопластик СТЭК толщиной 1,5 мм, с шагом координатной сетки - 1,25 мм. Число интегральных микросхем на плате Е2 - 54 шт. Соединители СНП 59 - низкочастотный прямоугольный.

Система стала настоящим рабочим инструментом: с 1981 по 1988 годы было выпущено 242 мультипроцессора, которые успешно работали в геофизических экспедициях и даже в ЦУПе для обработки телеметрии. ПС-2000 доказал, что советские инженеры могли создавать не просто копии, а оригинальные, эффективные архитектуры, оптимально решавшие конкретные народнохозяйственные задачи. В ЦУП ПС-2000 трудился до 1997 года. Этот факт довольно красноречив. Он одновременно — памятник гению советских инженеров и картина российской действительности 90-х, оказавшейся не готовой дать отечественной высокотехнологичной отрасли достойную смену.

Логическим развитием идей ПС-2000 стала система ПС-3000, завершённая к 1982 году. Если её предшественница использовала архитектуру с одним потоком команд (SIMD), то ПС-3000 совершила качественный скачок, реализовав принцип множества потоков команд и множества потоков данных (MIMD). Это была система с динамически перестраиваемой структурой: в ходе вычислений она могла автоматически распределять свои ресурсы — до четырёх скалярных процессоров, векторные ускорители и модули памяти — между разными задачами и даже фрагментами одной задачи. По сути, машина сама адаптировалась под вычислительный процесс, превращаясь то в мощный векторный процессор, то в асинхронный многозадачный комплекс. Несмотря на этот архитектурный прорыв, слабым местом ПС-3000, как и всей линейки, оставалось системное программное обеспечение — отсутствие полноценного языка высокого уровня не позволило раскрыть весь её потенциал, оставив уникальные аппаратные возможности достоянием узкого круга специалистов.

Эльбрус-2: последнее восхождение эпохи

Многопроцессорный вычислительный комплекс «Эльбрус-2», принятый в эксплуатацию в 1985 году, стал вершиной советского компьютеростроения и одновременно его лебединой песней. В то время как гражданская отрасль массово переходила на клонирование архитектур IBM и DEC, коллектив ИТМиВТ под руководством Всеволода Бурцева создавал полностью оригинальную систему. Её производительность достигала 125 миллионов операций в секунду в максимальной 10-процессорной конфигурации, а объём оперативной памяти до 144 Мбайт был феноменальным для середины 1980-х.

Оценка «Эльбруса» как чисто оригинальной разработки не совсем точна. Его архитектура, особенно в части суперскалярного исполнения команд и поддержки языков высокого уровня, демонстрирует явное концептуальное родство с разработками компаний Burroughs и IBM. Это не было слепым копированием — скорее, осмысленной адаптацией передовых идей в попытке создать конкурентоспособный продукт. Парадокс в том, что, стремясь к технологической независимости, советские конструкторы были вынуждены идти по проторённому Западом пути, повторяя не конкретные схемы, а саму логику развития высокопроизводительных вычислений.

Ключевым технологическим решением, позволившим достичь такой сложности, стало широкое использование многослойных печатных плат. Элементная база «Эльбруса-2» — быстродействующие ЭСЛ-схемы (ИС-100) и матричные БИС серии И-200М — требовала качественных монтажных решений. Именно многослойные платы, собранные в стандартизированные ячейки, стали конструктивной основой всех модулей системы: центральных процессоров, оперативной памяти и контроллеров ввода-вывода. Эта модульная конструкция, где каждый блок был функционально и конструктивно завершён, позволяла создавать комплексы разной мощности — от 2 до 10 процессоров.

Однако эти передовые решения существовали в парадоксальном контексте. Пока «Эльбрус-2» с его жидкостным охлаждением и уникальной архитектурой работал на оборону и космос, базовая отрасль печатных плат для народного хозяйства зависела от устаревших импортных линий, закупленных ещё в 1970-е. Комплекс, занимавший десятки шкафов и потреблявший до 816 кВт, демонстрировал, что СССР ещё способен на штучные технологические прорывы, но был не в состоянии обеспечить их массовое тиражирование и коммерческое развитие. «Эльбрус-2» стал последним крупным компьютером, в котором советские печатные платы служили не для копирования, а для реализации собственных амбициозных архитектурных замыслов.

Американский конвейер. Cray и не только

Пока СССР создавал штучные шедевры, на Западе действовал конвейер.

Истоки американского суперкомпьютеростроения лежат в начале 1960-х, когда появились первые машины, претендовавшие на этот статус: UNIVAC LARC (1960) и IBM 7030 Stretch (1962). Параллельно в Великобритании был создан Manchester Atlas (1962) — одна из самых мощных машин своего времени, пионер виртуальной памяти и супервизорных операционных систем. Однако настоящую революцию на коммерческом рынке совершил Сеймур Крей в компании Control Data Corporation (CDC). Его CDC 6600 (1964), использовавший компактную модульную конструкцию и быстродействующие кремниевые транзисторы, с производительностью до 3 мегафлопс официально стал первым успешным суперкомпьютером, превзойдя Stretch втрое. CDC собирался на стойке, в которую плотно вставлялись модули. Модуль состоял из двух параллельных печатных плат, между которыми компоненты монтировались перпендикулярно, образуя плотный блок, похожий на поленницу. Каждый модуль был около 2.5 дюймов (64 мм) в квадрате и 1 дюйм (25 мм) толщиной. На одном краю модуля располагался 30-контактный разъем (2 ряда по 15 контактов). Модули зажимались между двумя алюминиевыми холодными пластинами для отвода тепла.

Эпоха Крея достигла апогея с выпуском Cray-1 (1976) — эталонного векторного суперкомпьютера, и Cray-2 (1985) — первой машины, преодолевшей рубеж в 1 гигафлопс благодаря революционной системе жидкостного охлаждения. Эти машины доминировали на рынке, пока в конце 1980-х на смену не начали приходить массово-параллельные системы с тысячами процессоров.

Cray-1, с его знаменитыми вертикальными стойками, содержал платы, которые тоже были произведены вручную, но по стандартизированной технологии. Cray-2 уже использовал жидкостное охлаждение и 8-слойные платы (не нынешние, конечно, толщина «платы» была около 3 сантиметров — это скорее стопка из восьми обычных плат с выступающими контактами) с шагом дорожек 0.2 мм — уровень, доступный американской промышленности серийно. Параллельно японские компании Fujitsu и NEC в рамках национальной программы создания суперкомпьютеров освоили массовое производство 20-слойных плат с использованием технологии многослойной керамики, что позволило им к концу 1980-х обойти по производительности даже Cray.

Гражданское применение. Когда суперкомпьютеры служили народу

Важно отметить, что советские суперкомпьютеры работали не только на оборону. БЭСМ-6 рассчитывала траектории для космических аппаратов в программе «Буран», моделировала климат для сельского хозяйства, использовалась в Госплане для оптимизации народнохозяйственных связей. В ВЦ АН СССР на суперкомпьютерах рассчитывали лекарственные молекулы и моделировали аэродинамику самолётов. Но с началом Перестройки финансирование гражданской науки стало резко сокращаться. К 1990 году многие «мирные» суперкомпьютерные центры либо закрылись, либо переориентировались на выживание, выполняя коммерческие заказы. Технологии, созданные для нужд народа, оказались невостребованными, когда сам народ перестал быть приоритетом для государства.

К концу 1980-х парадокс советской суперкомпьютерной программы стал очевиден: блестящие архитектурные решения, опережавшие время, упирались в технологический потолок собственной промышленности. Запад победил не гениальностью архитектур, а способностью тиражировать сложные печатные платы миллионными тиражами. СССР создавал шедевры, Америка и Япония — товар. И в этой схватке товар оказался сильнее.

Мост: 1991 год. Конец одной войны и начало другой

Распад СССР в 1991 году стал для мировой электроники событием более значительным, чем падение Рима для античного мира. Рим рухнул постепенно, растянув агонию на столетия. Советская технологическая империя исчезла в историческом мгновении — словно отключили рубильник у работающего реактора.

Исчезла не просто страна — рассыпалась на части уникальная экосистема. Закрылись десятки НИИ, где рождались идеи на десятилетия вперёд. Остановились заводы, ещё вчера выпускавшие платы для систем ПРО. Инженеры, способные проектировать многослойные керамические модули для «Эльбруса», в одночасье оказались не у дел.

Но страшнее был крах научной мысли. В период с 1990 по 1996 год количество публикаций советских (а затем российских) учёных в международных журналах по микроэлектронике и смежным дисциплинам сократилось в 4.7 раза. Целые направления исследований — такие как криоэлектроника, оптические вычисления и адаптивные системы — были не просто заморожены, а физически уничтожены. Лаборатории закрывались, уникальное оборудование продавалось на металлолом, а архивы научных отчётов десятилетиями пылились в подвалах.

Наступила сюрреалистическая эпоха, когда доктора наук, ещё вчера делавшие доклады на международных симпозиумах, торговали на рынках палёной водкой или сидели ночными сторожами. Ведущие инженеры-технологи, владевшие секретами производства полиимидных плат, переквалифицировались в грузчиков — их знания оказались никому не нужны в стране, где единственной формой выживания стала примитивная торговля. Это была не просто «утечка мозгов» — это был интеллектуальный геноцид, систематическое уничтожение научного потенциала страны под аплодисменты победившей стороны.

Беспрецедентная в истории человечества интеллектуальная миграция обогатила лаборатории США, Европы и Азии: за копейки уходили не патенты, а живые носители знаний, целые научные школы. Многие прорывы в области полупроводниковых гетероструктур и фотоники, приписываемые сегодня западным лабораториям, были сделаны на теоретическом заделе, вывезенном из разорённых советских институтов.

Но если для Запада это был «конец истории» и триумф, то для глобальной технологической индустрии — начало новой, куда более хаотичной эры. Единый технологический фронт, державшийся на противостоянии двух сверхдержав, рухнул. Пропал внешний стимул, заставлявший Запад постоянно совершать прорывы. На смену ясной логике Холодной войны пришла турбулентность глобализации.

Именно в этот исторический вакуум хлынули новые силы — уже не государства, а корпорации. Intel, едва оправившись от потери главного противника, начала тотальное наступление на рынок персональных компьютеров. Microsoft превращала «железо» в товар массового потребления. А в подвалах и гаражах рождался интернет, которому вскоре предстояло переформатировать саму суть коммуникаций.

Эпоха, когда печатные платы проектировались для полёта в космос или вычисления траектории ядерной боеголовки, закончилась. Начиналась эпоха, где их главным назначением станет показ рекламы и доставка котиков в каждый дом. Ирония судьбы была в том, что для этого им предстояло стать сложнее, миниатюрнее и совершеннее, чем когда-либо прежде.

Часть 6: Эпоха глобализации и высоких частот (1990-2000)

Революция ПК. Как IBM-совместимые компьютеры унифицировали мир печатных плат

С распадом СССР исчез последний альтернативный технологический полюс. Мир печатных плат вступил в эру тотальной стандартизации под диктовку архитектуры IBM PC/AT. К 1993 году доля IBM-совместимых компьютеров на мировом рынке достигла 87%, и это на три десятилетия предопределило развитие индустрии ПП.

Форм-фактор ATX, представленный Intel в 1995 году, стал священным писанием для производителей материнских плат. Он жёстко регламентировал не только размеры и расположение крепёжных отверстий, но и зоны размещения ключевых компонентов: процессорного разъёма, слотов PCI, контроллеров памяти. Это позволило унифицировать проектирование и запустить конвейерное производство. Если в конце 1980-х производитель материнской платы был вынужден разрабатывать уникальную схему и разводку для каждой модели, то к 1997 году инженеры в Тайване и Китае могли собирать новые платы как конструктор из стандартных блоков.

Это породило феномен тайваньского чуда. Компании ASUS, Gigabyte и MSI, основанные в конце 1980-х как небольшие мастерские, к середине 1990-х превратились в гигантов, контролировавших 65% мирового рынка материнских плат. Их успех был построен на двух принципах: тотальная оптимизация производства и скорость вывода новых продуктов. Тайваньские инженеры довели до совершенства искусство проектирования 4-слойных плат для массового рынка, где себестоимость каждого квадратного дециметра была на вес золота.

К концу десятилетия материнская плата стала самым массовым высокотехнологичным продуктом в истории. Годовой объём производства достиг 80 миллионов штук, а её стоимость в рознице упала ниже $100 для бюджетных моделей. Это была пиррова победа — платы стали универсальными, но и взаимозаменяемыми, как болты. Индивидуальность и уникальные архитектурные решения окончательно пали перед диктатом стандарта.

Высокочастотный вызов. Мобильная связь и импеданс

Пока индустрия ПК доводила до совершенства 4-хслойные платы, из лабораторий в массовое производство вырвалась технология, которая перевернула все представления о печатных платах — сотовые телефоны. Первые коммерческие GSM-сети, запущенные в 1991 году в Финляндии (Radiolinja Oyj), требовали аппаратуры, работающей на частотах около 900 МГц (2G). Для печатных плат это означало переход из мира цифровой логики в мир высокочастотной (ВЧ) аналоговой техники, где плата уже не была пассивным носителем, а становилась частью резонансного контура.

Проблема импеданса, прежде волновавшая лишь разработчиков суперкомпьютеров и военных радаров, теперь встала перед каждым инженером, проектирующим плату для мобильного телефона. На частоте 1.8 ГГц (диапазон DCS-1800, введённый в 1993 году) длина волны в диэлектрике составляла всего ~8 см, а любая неоднородность в тракте — резкий изгиб дорожки, переходное отверстие — вызывало отражения сигнала и потери. Требования к точности контроля импеданса серьёзно ужесточились: если для PCI-шины (33 МГц) допуск составлял ±15%, то для ВЧ-трактов мобильника — не более ±5%.

Производители материалов ответили на вызов разработкой специализированных диэлектриков. В 1994 году компания Rogers Corporation выпустила серию материалов RO4000 с низкой и стабильной диэлектрической проницаемостью (εᵣ ≈ 3.5), что позволяло проектировать ВЧ-платы с предсказуемыми параметрами. Однако стоимость таких материалов была в 8-12 раз выше, чем у стандартного FR-4, что делало их применение экономически оправданным только в высокомаржинальных секторах — базовых станциях сотовой связи и военной технике.

Для массовых потребительских устройств, таких как знаменитый Nokia 2110 (1994 г.), инженеры пошли на компромисс. Они использовали гибридные платы, где ВЧ-часть (усилитель мощности, фильтры) разводилась на отдельном маленьком модуле из специализированного материала, который монтировался на основную плату из FR-4. Это решение, хоть и увеличивало стоимость сборки, позволяло удерживать цену конечного устройства в рыночных рамках.

К 1998 году, с появлением первых коммерческих образцов 3G-оборудования, работающего на частотах 2.1 ГГц, задача ещё более усложнилась. Теперь проектировщикам приходилось учитывать не только импеданс, но и фазовую стабильность, диэлектрические потери и шум питания. Печатная плата окончательно перестала быть просто «проводником» и превратилась в сложный электромагнитный компонент, от характеристик которого зависела дальность связи и качество голоса. Это была тихая революция, незаметная для пользователя, но перевернувшая мир инженеров-разработчиков.

Рождение BGA и кризис пайки. Как микрочипы сломали конвейер

Пока связь уходила в гигагерцы, микрочипы атаковали с другого фланга — со стороны количества выводов. К середине 1990-х ведущие производители процессоров потихоньку упирались в физический предел технологии QFP (Quad Flat Package). Корпус с ножками по периметру при шаге выводов менее 0.5 мм становился кошмаром для монтажа: тонкие ножки гнулись, пайка превращалась в лотерею. Ответом стал переход к BGA (Ball Grid Array) — корпусу, где выводы располагались под кристаллом в виде массива оловянных шариков.

Первый массовый процессор в корпусе BGA — Intel Celeron 300A (1998 г.) — содержал 370 контактов под кристаллом размером с ноготь. Это было технически изящно, но обернулось производственным коллапсом. Традиционные методы пайки волной стали бесполезны — припой не доходил до шариков, спрятанных под корпусом. Потребовалась революция в самом процессе сборки.

1996 год стал переломным: компания Siemens представила первую серийную установку для пайки в печи оплавления. Технология потребовала четырёх ключевых инноваций:

  1. Трафаретной печати паяльной пасты с точностью позиционирования ±25 мкм;
  2. Бессвинцовых припоев SAC305 (Sn96.5/Ag3.0/Cu0.5) с температурой плавления 217-220°C;
  3. Прецизионных дозаторов паяльной пасты для корпусов с шагом шариков 1.0 мм;
  4. Автоматической оптической инспекции (AOI) для контроля качества пайки.

Кризис пайки породил бум на рынке расходных материалов. Годовой объём потребления паяльных паст в мире вырос с 180 тонн в 1990 году до 850 тонн к 2000 году. Производители паст, такие как Heraeus и Indium Corporation, стали ключевыми игроками в цепочке поставок электроники.

Одновременно с технологическими проблемами возникли трудности проектирования. Разводка платы под BGA требовала принципиально нового подхода — via-in-pad (переходные отверстия в контактных площадках). Это увеличивало стоимость платы на 15-30%, но позволяло разводить чипы с шагом шариков 1.27 мм. К 1999 году индустрия освоила микропереходные отверстия диаметром 0.1 мм, что окончательно закрепило победу BGA.

Парадоксально, но переход на BGA спас, а не убил мелкое производство. Оборудование для пайки оплавлением стоило на порядок дешевле линий пайки волной, что позволило небольшим заводам конкурировать с гигантами. К 2000 году в Китае работало более 5000 контрактных производителей, способных собирать платы с BGA-компонентами. Это была демократизация высоких технологий — теперь даже стартап мог заказать сложную плату с современными процессорами.

Материальная революция. Рождение высокочастотных ламинатов и «умных» текстолитов

Пока производственники боролись с BGA, на химическом фронте происходила не менее значимая революция. Стандартный FR-4, верой и правдой служивший индустрии с 1960-х годов, оказался беспомощен перед вызовами высоких частот. Его диэлектрическая проницаемость (εᵣ ≈ 4.5) и тангенс потерь (tan δ ≈ 0.02) на частотах выше 1 ГГц вызывали неприемлемые искажения сигнала и нагрев. Проблема усугублялась нестабильностью параметров: содержание эпоксидной смолы могло колебаться на ±12% между партиями, что делало точное проектирование ВЧ-трактов невозможным.

Ответом стало появление в 1992-1995 годах нового класса материалов — высокочастотных ламинатов. Пионерами стали:

  • Rogers Corporation с серией RO4000 (εᵣ = 3.5, tan δ = 0.004)
  • Taconic с материалом RF-35 (εᵣ = 3.5, tan δ = 0.0018)
  • Arlon с серией CLTE (εᵣ = 2.9, tan δ = 0.0025)

Эти материалы основывались не на эпоксидных смолах, а на политетрафторэтилене (PTFE) — химической основе тефлона. Их производство требовало принципиально иных технологий: спекания при температуре 380-400°C в инертной атмосфере с последующим прецизионным каландрированием до толщины 0.1 мм с допуском ±8%.

Стоимость таких материалов была шокирующей: $18-25 за квадратный фут против $2-3 за стандартный FR-4. Это ограничивало их применение там, где цена не была главным фактором: в базовых станциях сотовой связи (например, в оборудовании Ericsson AXE10), спутниковых терминалах и военных системах.

Параллельно развивалось направление специализированных материалов для сложных условий:

  • Полиимид для аэрокосмоса с Tg > 260°C (против 140°C у FR-4)
  • BT-эпоксидные смолы (бисмалеимид-триазиновые) для многослойных плат с улучшенной стабильностью размеров
  • Цианатэфирные смолы с низким влагопоглощением (0.6% против 1.5% у FR-4)

К 1998 году рынок специализированных материалов достиг 420 миллионов долларов при ежегодном росте 14%. Производители оборудования вынуждены были создавать отделы материаловедения — инженеры наконец осознали, что правильный выбор диэлектрика важнее топологии разводки.

Наиболее значимым прорывом стало появление в 1999 году Halogen-Free материалов — ответ индустрии на ужесточающиеся экологические стандарты. Содержание брома и хлора в таких материалах не превышало 900 ppm (против 15% в стандартном FR-4), что делало их безопасными при утилизации. К 2000 году все крупные производители бытовой электроники, включая Sony и Panasonic, перешли на бессвинцовые процессы и галоген-фри материалы.

Эта «тихая революция» в материалах заложила основу для следующего десятилетия, когда требования к скорости передачи данных достигнут 10 Гбит/с, а толщина диэлектрика станет измеряться десятками микрометров. Печатная плата окончательно превратилась из пассивной подложки в активный компонент, определяющий характеристики всего устройства.

Экологический театр абсурда. Бессвинцовая пайка и её «спасители»

Пока инженеры решали реальные технические проблемы, в уютных кабинетах Брюсселя и Вашингтона рождалась одна из самых лицемерных и дорогостоящих авантюр в истории электроники — директива RoHS (Restriction of Hazardous Substances). Принятая в 2000 году, но приведшая индустрию в хаос лишь к 2006-му, она с благородной целью «спасения планеты» запретила использование свинца в пайке. Ирония судьбы заключалась в том, что индустрия десятилетиями совершенствовала Sn63/Pb37 — идеальный сплав с температурой плавления 183°C, с прекрасной смачиваемостью и прочностью соединений.

На смену пришли «экологичные» бессвинцовые припои на основе SAC305 (Sn96.5/Ag3.0/Cu0.5). Их внедрение обернулось технологическим кошмаром:

  • Температура пайки подскочила до 240-260°C, что потребовало замены всего парка паяльного оборудования
  • Возрос риск «поджога» компонентов и расслоения печатных плат
  • Знаменитые «усы олова» (tin whiskers) — микроскопические кристаллические наросты, вызывающие короткие замыкания, — стали кошмаром инженеров, отвечавших за обеспечение надёжности.

Особое лицемерие заключалось в том, что, «спасая» планету от 0.5% мирового потребления свинца (доля электроники), директива спровоцировала:

  • Рост энергопотребления при пайке на 25-30%
  • Выбросы от утилизации миллионов единиц старого оборудования
  • Использование в новых припоях серебра, добыча которого куда более разрушительна для экологии

К 2008 году убытки от перехода на бессвинцовые технологии оценивались в 28 миллиардов долларов — вполне достойная цена за сомнительное моральное превосходство.

Фактически, ЕС построил нетарифный торговый барьер и получил неплохой способ управления рисками и репутацией.

  • Кто выиграл? Производители нового паяльного оборудования, химические концерны, разработавшие бессвинцовые припои, компании, продающие услуги по сертификации и консалтингу. Для них это был золотой дождь.

  • Кто проиграл? Компании, чей бизнес был завязан на старые технологии, и в конечном счёте — потребитель, который в той или иной форме оплатил эти $28 миллиардов затрат. Золотой дождь пролился и на потребителя, но есть нюанс...

Российские метания. От технологического суверенитета до распродажи остатков на блошином рынке

Пока мир переживал технологические революции, российская электронная промышленность в 1990-е переживала агонию. Годовое производство печатных плат сократилось с 12.8 млн кв. дм в 1990 году до жалких 0.9 млн кв. дм в 1998-м. Легендарные заводы шли с молотка по программе ваучерной приватизации, продавались на залоговых аукционах, банкротились и продавались под жилую застройку, офисы, и ТЦ. 

Научные институты и предприятия выживали как могли. Были закрыты и уничтожены сотни НИИ и радиозаводов. Инженеры-технологи с 30-летним стажем переучивались на менеджеров по продажам, челноков и бандитов — страна, ещё вчера запускавшая «Буран», теперь с упоением играла в дикий капитализм.

Единственным лучом света стали оборонные предприятия, сумевшие сохранить компетенции. ВНИИРТ продолжал выпускать РЛС для систем ПВО, НПО «Сатурн» осваивал гибкие схемы для авионики. Но и они работали на старом оборудовании, купленном ещё по программе 1976 года.

К 2000 году российская электроника представляла собой причудливый гибрид из:

  • Островков высоких технологий в ВПК
  • Сотен «гаражных» производств, собирающих платы паяльниками
  • Импортных подержанных линий, купленных за бесценок у разорившихся европейских заводов

Это было время великого противоречия: страна, способная проектировать сложнейшие системы управления, не могла наладить массовый выпуск сотовых телефонов. Эра технологической независимости закончилась у порога экономической целесообразности.

Часть 7: На пути к нанометрам (2000-2015)

HDI-платы. Когда текстолит поумнел (2000-2008)

К началу 2000-х маховик закона Мура, раскручивавшийся в кремниевых чипах, с размаху ударил по индустрии печатных плат. Пока транзисторы на кристалле мельчали, традиционные ПП с их грубыми сквозными отверстиями и широкими дорожками внезапно стали главным тормозом прогресса. Шаг выводов корпусов для мобильных и сетевых процессоров, таких как Intel Pentium 4 (2000 г.), достиг 1.27 мм, а количество контактов в высокопроизводительных чипах почти перевалило за 500 (478-выводной FC-PGA2 у того же P4, у Athlon — 754-контактный FCPGA2, у Opteron — 1207-контактный FCPGA2!). Попытка развести это хозяйство классическими методами напоминала попытку запихнуть авианосец в канал Грибоедова — технически возможно, но крайне неэлегантно и тесно.

Ответом стала технология HDI (High Density Interconnect), которую можно назвать «текстолитом с высшим образованием». Её коммерческое внедрение в 2001-2002 годах ознаменовало переход от ремесла к науке. Ключевыми инновациями стали:

  • Микропереходные отверстия диаметром 0.10-0.15 мм, которые было невозможно получить механическим сверлом — только лазером. Точность позиционирования лучших лазерных установок того времени, например, от компании LPKF, составляла ±25 мкм.

  • Последовательное построение стека (sequential build-up) — процесс ламинирования в несколько проходов, напоминающий сборку матрёшки, позволявший создавать до 12 слоёв межсоединений.

  • Заполнение отверстий проводящей пастой — операция, требовавшая от химиков разработки специализированных составов. Производители материалов, такие как Taiyo America, предлагали пасты с контролируемой вязкостью для надёжного заполнения без пустот.

Первый массовый продукт, громко заявивший о победе HDI, — сотовый телефон Motorola RAZR V3 (2004 г.). Его 6-слойная плата, по данным teardown-анализа, содержала более 1000 лазерных микропереходов на площади около 35 кв. см, что позволило упаковать в невероятно тонкий (13.9 мм) корпус полный набор функций. Успех RAZR заставил всю индустрию мобильных устройств перейти на HDI.

Но настоящий тест на прочность HDI прошла в корпоративном секторе. Коммутатор Cisco Catalyst 6500, флагман сетевого оборудования, использовал сложные многослойные HDI-платы для обеспечения пропускной способности. Анализ плат того периода показывает, что для разводки больших BGA-массивов использовались платы с 12-14 слоями и тысячами микропереходов.

Пиком «первой волны» HDI стал Apple iPhone (2007 г.). Согласно исследованию iFixit и анализу от TechInsights, его материнская плата была шедевром инженерного минимализма: 6-слойная структура HDI с микропереходами, позволившая достичь рекордной для того времени плотности монтажа [5]. Apple доказала, что HDI — это не просто технология, а философия, где каждый микрон текстолита на счету.

К 2008 году технология добралась и до высокопроизводительных вычислений. Серверные платформы на базе процессоров AMD Opteron и Intel Xeon использовали 12-16-слойные HDI-платы для организации скоростных каналов связи между многоядерными CPU и памятью. Стоимость таких плат была существенно выше традиционных, но это окупалось улучшением целостности сигнала и возможностью разместить больше компонентов.

Апофеозом классической HDI стало появление корпусов CSP (Chip Scale Package) с шагом выводов 0.5 мм. Это потребовало перехода к архитектуре Any-layer HDI, где микропереходы могли располагаться между любыми слоями стека — решение, увеличивавшее стоимость платы, но делавшее возможным размещение процессоров с высокой плотностью выводов. Согласно отчётам консалтинговой компании Prismark, к 2008 году сегмент HDI-плат демонстрировал самые высокие темпы роста в индустрии, достигнув объёма в $7-8 млрд, в то время как весь рынок ПП оценивался примерно в $50 млрд. Индустрия доказала, что может угнаться за законом Мура, но цена этой гонки росла с каждым новым техпроцессом.

Российский контекст. Распад, стагнация и попытки догнать (1990-2010)

Если глобальная индустрия в 2000-е решала, как впихнуть в плату ещё больше дорожек, то российская только приходила в себя после обрушения, описанного в предыдущих главах. К 1998 году среднестатистическое российское предприятие по производству печатных плат представляло собой печальное зрелище: устаревшее оборудование, купленное ещё по программе 1976 года, и парк станков, чей моральный износ приближался к 90%.

В итоге, пока мировая индустрия осваивала HDI и готовилась переходить на бессвинцовую пайку, российский рынок печатных плат переживал собственный, куда более драматичный сюжет. Распад СССР в 1991 году оставил после себя не наследие, а руины. Годовой объём производства печатных плат в России к 1995 году составлял жалкие 0.7% от уровня 1990 года. Легендарные заводы — ВЗРИП в Вильнюсе, Электронмаш во Львове, «Интеграл» в Минске, Рижская «Альфа» — оказались за границей, а оставшиеся в России предприятия, такие как Ангстрем в Зеленограде, боролись за выживание, перебиваясь мелкими заказами и ремонтом старой советской техники. 

 90-е годы стали временем великого рассеяния кадров. Инженеры-технологи, ещё вчера разрабатывавшие многослойные платы для систем ПРО, массово уходили в торговлю или уезжали за рубеж. Система подготовки кадров была разрушена: если в 1985 году в СССР по специальностям, связанным с электроникой, выпускалось около 25,000 инженеров в год, то к 2000 году этот показатель в России упал до 3,500.

Попытки встроиться в глобальную цепочку создания стоимости наталкивались на жестокую реальность. Ситуация с кадрами и технологиями была настолько тяжёлой, что, по свидетельствам участников рынка, когда в 2003 году компания Siemens искала в России подрядчика для производства 4-слойных плат для систем автоматизации, внутренний аудит показал: ни одно предприятие не могло гарантировать стабильное качество по стандарту IPC-A-600 Class 2. Основными проблемами были:

  • Нестабильность материалов — отечественный фольгированный стеклотекстолит имел разброс по диэлектрической проницаемости до ±15% между партиями.
  • Отсутствие современного оборудования — менее 10% предприятий имели лазерные сверлильные станки или установки для автоматического оптического контроля (AOI).
  • Кадровый голод — средний возраст ведущего инженера-технолога составлял 55+ лет.

Серьёзным толчком к возрождению стал госзаказ. Начиная примерно с 2005 года, в рамках курса на перевооружение, предприятия Концерна ПВО «Алмаз-Антей» и другие профильные заводы начали активную модернизацию производств, в том числе и цехов печатных плат, для обеспечения выпуска новых систем вооружения. Характерной приметой того времени стали закупки устаревших линий из Европы — это был быстрый и доступный способ получить технологии, недоступные ранее.

К концу 2000-х годов в России сформировалось несколько предприятий, пытавшихся сохранить компетенции в области производства печатных плат. Помимо зеленоградского «Микрона», который фокусировался на платах для телекоммуникаций и микроэлектроники, можно было выделить:

  • «Ангстрем» (Зеленоград), который, несмотря на все трудности, сохранял линии для производства плат для собственных разработок и военно-промышленного комплекса.
  • Специализированные производства при конструкторских бюро и НИИ, такие как «НИИ «Вектор»» (Санкт-Петербург) и «Концерн «Вега»» (Москва), которые для внутренних нужд выпускали платы для радиолокационной и авиационной аппаратуры, включая образцы с использованием гибких и жёстко-гибких технологий.
  • Компании, подобные «Светлана-Рентген» и «Светлана-Электронприбор» (Санкт-Петербург) в составе «Светланы», которые наладили серийный выпуск более простых, но надёжных плат для промышленной и энергетической электроники.

Однако разрыв с мировым уровнем оставался катастрофическим. Если мировой лидер — тайваньская Unimicron — в 2010 году массово производила HDI-платы с 0.1 мм переходами, то российские предприятия только начинали осваивать 0.3 мм. Доля России в мировом производстве печатных плат составляла менее 0.2%, что ставило крест на амбициях технологического суверенитета. О создании конкурентоспособной элементной базы (процессоров «Эльбрус» или «Байкал») в таких условиях не могло быть и речи — не на чем было их размещать.

EDA. Когда ПО стало важнее железа (2000-2015)

Пока производители плат бились над микропереходами и полиимидами, настоящая революция происходила в виртуальном пространстве. К 2000 году сложность проектирования средней серверной платы достигла точки, когда человеческий мозг перестал справляться с объёмом вычислений. Разработка 12-слойной платы с 5000+ компонентов требовала учёта более 100,000 электрических и тепловых взаимосвязей — задача, сравнимая с ручным расчётом полёта на Марс.

Ответом стало тотальное доминирование САПР (EDA). Три ключевых игрока — Cadence, Mentor Graphics (ныне Siemens EDA) и Zuken — к 2005 году контролировали 92% мирового рынка ПО для проектирования электроники. Их софт превратился из инструмента черчения в виртуальную лабораторию, где можно было не только разводить дорожки, но и:

  • Моделировать целостность сигналов (SI) на частотах до 10 ГГц
  • Анализировать электромагнитную совместимость (EMC)
  • Оптимизировать тепловые режимы (thermal analysis)
  • Автоматически размещать компоненты (auto-routing)

Переломный момент наступил в 2007-2008 годах с массовым переходом на интерфейсы PCI Express Gen 2 (5 ГТ/с) и DDR3 (1600 МГц). Теперь корректная работа системы определялась не столько схемой, сколько топологией разводки: длиной дорожек, их взаимным расположением, переходными процессами в vias. Ошибка в 5 ps (пикосекунд) могла привести к потере данных. Человек был уже не в состоянии просчитать такие вещи — только ПО.

Индустрия столкнулась с новым вызовом: стоимость владения современными EDA-системами стала сопоставима с затратами на дорогостоящее производственное оборудование. К 2010 году цена полного коммерческого пакета САПР для проектирования сложных печатных плат и интегральных схем от ведущих вендоров (Cadence, Mentor Graphics, Synopsys) могла достигать сотен тысяч долларов за единоразовую лицензию с существенными ежегодными отчислениями за поддержку. Это создавало высокий барьер для входа, делая современные инструменты проектирования доступными в первую очередь крупным корпорациям и оборонным предприятиям. К этому времени стало очевидно, что стоимость владения и использования современных EDA-систем, а также высокая зарплата квалифицированных инженеров-проектировщиков стали сопоставимыми по величине с прямыми производственными затратами на материалы и изготовление для сложных и высокоскоростных печатных плат. Таким образом, «интеллектуальная» составляющая — лицензии ПО и работа инженеров — превратилась из накладного расхода в одну из ключевых статей себестоимости, в очередной раз изменив экономику отрасли.

Российский рынок EDA развивался по особой траектории. Из-за дороговизны лицензий и санкционных ограничений к 2015 году лишь ~15% российских предприятий использовали легальные версии современных САПР. Остальные работали на «сером» ПО, часто устаревших версий, что автоматически исключало их из глобальных производственных цепочек и не позволяло проектировать сложную продукцию. Создание отечественных EDA-решений, таких как «Ковчег» (разработка НПК «Технологический центр»), оставалось нишевой историей для государственного сектора и оборонзаказа — коммерческого успеха эти продукты не имели.

К 2015 году окончательно сформировался новый мировой порядок: производитель печатных плат без доступа к современным EDA превращался в простого исполнителя чужих техпроцессов. Возможность создавать сложные платы стала определяться не станками, а софтом — битва за технологическое лидерство переместилась из цехов в виртуальное пространство.

Часть 8: Современность и будущее (2015 — наши дни)

Платы для ИИ. Серверные фермы и закон Мура на стероидах

К 2015 году обычный закон Мура начал буксовать на кремниевом фронте, но его эстафету подхватила новая парадигма — масштабирование систем (Scale-out Computing). Если один процессор уже не мог радикально наращивать производительность, их стали объединять в кластеры из тысяч штук. Это породило спрос на печатные платы, которые сами по себе стали вычислительными системами.

Платы для AI-ускорителей, таких как NVIDIA DGX-1 (2016 г., 129 000 $), представляли собой инженерный апогей. 14-слойная плата формата SSI EEB (305 × 330 мм) должна была обеспечивать передачу 960 ГБ/с данных между 8 GPU и 2 CPU, потребляя при этом 3.2 кВт — как два бытовых чайника, работающих на полную мощность. Каждый такой ускоритель содержал 18,432 ядра CUDA, и все они требовали идеального энергоснабжения и синхронизации.

К 2018 году вызовы достигли экстремума:

  • Плотность тока в силовых слоях достигла в пике 25 А/мм², потребовав использования толстой меди 3 oz вместо стандартной 1 oz.
  • Скорости передачи данных интерконнектов NVLink приблизились к 50 Гбит/с на линию, превратив плату в СВЧ-устройство.
  • Тепловая нагрузка превысила 150 Вт/дм2, вынуждая внедрять медные сердечники и активные системы охлаждения.

Производители серверных плат, такие как Inventec и Quanta Computer, ответили переходом на 18-24-слойные стеки с Any-layer HDI и 0.08 мм микропереходами. Стоимость такой платы достигала $5,000-8,000, но это было каплей в море по сравнению с общей ценой системы в $150,000-400,000.

Отдельным направлением стали платы для майнинговых ферм. В погоне за рентабельностью производители шли на крайние меры с обратным знаком:

  • Использование 6-слойных плат вместо рекомендованных 8-слойных для экономии $12-15 за плату.
  • Отказ от контроля импеданса и паяльной маски на некритичных участках.
  • Работа компонентов на грани теплового разрушения при температурах до 105°C.

Результатом такой «оптимизации» стала катастрофическая надёжность: до 30% майнинговых плат выходили из строя в первый год эксплуатации, создавая парадоксальный рынок «одноразового» высокотехнологичного оборудования. Но в условиях 2017-2018 годов, когда окупаемость майнинговой фермы составляла 3-6 месяцев, этот риск считался приемлемым. Это был тупиковый путь развития, демонстрирующий, как ажиотажный спрос может деградировать сложную инженерную продукцию до состояния расходного материала.

Параллельно и куда более осмысленно развивался сектор AI-серверов. Если майнинг требовал от плат лишь выживания при экстремальных нагрузках, то задачи искусственного интеллекта предъявляли комплексные требования: беспрецедентная пропускная способность, строгий импеданс и высочайшая надёжность. К 2020 году сегмент AI-серверов потреблял, по оценкам аналитиков, 8.5% всех производимых в мире высокосложных печатных плат. Это был качественно новый рынок — экстремальный, высокомаржинальный и технологически безжалостный, но движимый не спекулятивной лихорадкой, а настоящей потребностью в вычислительной мощи.

Основатель Microsoft, миллиардер Билл Гейтс делает ставку на то, что ядерная энергетика — ключ к удовлетворению потребности AI в энергии, и он готов потратить собственные средства, чтобы добиться этого. Гейтс инвестировал 1 миллиард долларов в атомную электростанцию, строительство которой началось в Кеммерере, штат Вайоминг. Новая установка, спроектированная основанной Гейтсом компанией TerraPower, будет меньше традиционных атомных электростанций, работающих на принципе деления, и, теоретически, безопаснее, поскольку для охлаждения активной зоны реактора будет использоваться натрий вместо воды.

Российский ренессанс: Иллюзия суверенитета и суровая реальность контрактников

Пока мировой рынок уходил в AI и 24-слойные стеки, российская отрасль в 2010-х годах решала куда более приземлённую задачу: как выжить в условиях нарастающего технологического эмбарго. Отправной точкой стал 2014 год, когда санкции и контрсанкции официально обозначили конец эры доступных западных технологий. Оказалось, что 85% всего высокотехнологичного оборудования и 70% специализированных материалов на российских заводах имели западное происхождение.

Ответом стала Госпрограмма развития электронной промышленности до 2025 года с бюджетом около 10 млрд. рублей в год (на старте). В 2022-2023 годах из федерального бюджета на эту госпрограмму было выделено 44 млрд рублей. В отличие от программ 2000-х, на этот раз акцент делался на создание полного цикла производства:

  • Обеспечение стратегических систем страны отечественной компонентной базой. 
  • Модернизацию производств и развитие научного потенциала отрасли.
  • Повышение конкурентоспособности продукции на мировом и внутреннем рынках сбыта.
  • Удовлетворение потребностей отраслей народного хозяйства в современной отечественной электронной компонентной базе. 

Ключевым событием стал запуск в 2021 году строительства завода полного цикла YADRO Fab DUBNA. Это был качественный скачок, но и он обеспечивал лишь 35% технологических потребностей российского рынка. В 2024 году в развитие завода планировалось вложить ещё 10 млрд ₽.

Для сравнения, Huawei, выступающая одним из ведущих в мире производителей телекоммуникационного оборудования, ежегодно вкладывает в исследования и разработку 161,5 млрд юаней (около 2,17 трлн руб.)

Однако за парадными отчётами скрывалась менее радужная реальность. Флагманские российские процессоры «Эльбрус» и «Байкал», позиционируемые как основа суверенитета, оказались в ловушке:

  • После введения санкций в 2022 году производство «Эльбрус-16С» на мощностях TSMC (Тайвань) по норме 16 нм было полностью остановлено.
  • «Байкал-М», изначально производившийся по 28 нм техпроцессу, лишился и этой возможности, отбросив отечественную микроэлектронику на 15 лет назад.
  • Переход на RISC-V архитектуру, объявленный панацеей, породил новые проблемы: отсутствие зрелых программных экосистем и риски скрытых лицензионных ограничений. Впрочем, отсутствие физической возможности производить процессоры сделало этот минус несущественным.

В этих условиях каркасом отрасли стало контрактное производство, возглавляемое парой ключевых игроков. По данным на 2025 год, рынок был поделён между немногими предприятиями, способными обеспечить значимые объёмы.

Статистически лидерами российского рынка печатных плат являются крупнейшие импортёры — «Гран Груп» (16% импорта) и «Национальная Энергетическая Компания» (НЭК, 18% импорта). Их бизнес-модель, основанная на поставках готовых плат из Юго-Восточной Азии, идеально соответствовала запросам рынка на сложную продукцию 5-7 класса точности, которую местные производители были не готовы выпускать в достаточных объёмах.

Среди отечественных производителей стоит отметить «Резонит» из Зеленограда с мощностью 550 кв. м плат в месяц. Компания декларирует возможности производства HighTech-плат с нормами 75/75 мкм, однако значительная часть наиболее технологичных заказов традиционно выполнялась на её мощностях в Китае, что в новых реалиях создавало дополнительные риски для российских заказчиков.

Ещё одним флагманом выступает «Ядро Фаб Дубна». Завод, оснащённый оборудованием Atotech и Orbotech, способен выпускать 8-12-слойные платы с нормативами 8/8 mil. Его амбициозные планы по расширению мощностей до 400 кв. м в месяц делают его главной надеждой на импортозамещение.

Однако за пределами этой дуополии и доминирования импортёров существовал пласт средних и малых предприятий, которые выжили не за счёт масштаба, а благодаря узкой специализации и способности закрывать сложные, ответственные ниши, недоступные крупным игрокам. Именно здесь располагалась экосистема, обеспечивавшая реальную, а не декларативную технологическую устойчивость для специализированных отраслей.

Ярким примером такого «нишевого» игрока является компания А-КОНТРАКТ. С производственными площадями в Санкт-Петербурге и в Старой Руссе компания позиционирует себя как производитель полного цикла. Технологический арсенал компании включает:

  • Автоматический монтаж компонентов от 01005 до 200×110 мм

  • Работу с гибко-жёсткими платами и платами с металлическим основанием

  • POP-монтаж и лазерный реболлинг BGA

  • Многоступенчатый контроль: от автоматического оптического до 3D-рентгена и внутрисхемного тестирования

Это позволяет А-КОНТРАКТ закрывать специфические заказы для авионики, медицинской техники и промышленной автоматики, где требуется не массовость, а гарантированная надёжность каждого изделия. В отличие от гигантов, сила компании — в гибкости и способности обеспечивать высокое качество в малых и средних сериях, выступая надёжным партнёром там, где типовые импортные решения не подходят.

К этой же категории можно отнести и других участников рынка, таких как «ПАНТЕС» (Санкт-Петербург) и «Технотех» (Йошкар-Ола).

Такие предприятия, по сути, выполняют роль технологических костылей — они не могут производить платы для современных процессоров, но закрывают до 70% базовых потребностей промышленности в контроллерах, блоках питания и периферии. Их существование доказывает простую истину: в условиях изоляции даже технологии 20-летней давности становятся стратегическим активом.

В целом, к 2023 году российская индустрия печатных плат представляла собой раздробленный ландшафт, где островки относительной современности вроде YADRO (как минимум на бумаге) соседствовали с массой кустарных и полукустарных производств, а громкие заявления о суверенитете разбивались о необходимость закупать даже базовые химикаты и болты с гайками в третьих странах. Разрыв с мировым уровнем не сокращался, а трансформировался в перманентное состояние технологической зависимости от устаревших, но доступных решений.

Тренды завтрашнего дня. Встроенные компоненты, аддитивные технологии и кремний-фотоника

Пока российская индустрия решала проблемы импортозамещения, мировой авангард отрабатывал технологии, призванные преодолеть ограничения классической печатной платы. Дальнейшая миниатюризация столкнулась не только с экономическими, но и с фундаментальными физическими барьерами, такими как потери в диэлектрике и перекрёстные помехи на высоких частотах.

Ответом стали несколько перспективных направлений:

1. Встраивание компонентов (Embedded Components)

  • Пассивные компоненты. Технологии формирования тонкоплёночных резисторов и конденсаторов непосредственно в слоях диэлектрика (Embedded Passives) разрабатываются десятилетиями. Ведущие производители материалов, такие как MacDermid Alpha, предлагают технологические решения для встраивания тонкоплёночных конденсаторов в структуру платы.

  • Активные компоненты. Технология встраивания кристаллов (Embedded Die) является передовым методом корпусирования. Компания Shinko Electric Industries с технологией «SESUB» (Semiconductor Embedded in SUBstrate) была одним из пионеров в этой области, активно развивавшим это направление в 2010-х годах.

2. Аддитивные технологии

  • Технологии вроде струйной печати многослойных плат (компания Nano Dimension, система «DragonFly») и аэрозольного напыления (компания Optomec, технология «Aerosol Jet») существуют и позиционируются для быстрого прототипирования и производства сложных многослойных структур с возможностью создания нестандартной геометрии.

3. Интеграция фотоники

  • Кремний-фотоника развивается как отдельное направление. Компания Intel многие годы разрабатывает и производит кремний-фотонные трансиверы для центров обработки данных, которые монтируются на печатные платы как обычные компоненты. Исследовательские программы, подобные DARPA PIPES, направлены на интеграцию оптических интерконнектов непосредственно в сборки, близкие к платам.

Упомянутые технологии являются реальными, но находятся на разных стадиях зрелости — от лабораторных исследований до нишевого применения. Их массовое внедрение в производство печатных плат сдерживается не физическими пределами, а экономической целесообразностью и технологической сложностью. Эволюция платы идёт не столько по пути радикальной смены парадигмы, сколько через гибридизацию и усложнение системы «корпус-плата-кремний».

Эти технологии, возможно, формируют контуры индустрии 2030-х годов, где печатная плата эволюционирует из пассивной монтажной панели в активную гетерогенную вычислительную среду, объединяющую электрические, оптические и даже жидкостные (для охлаждения, к примеру) функции. Прогресс смещается с масштабирования известных процессов к созданию принципиально новых гибридных материалов и архитектур.

Кризис парадигмы. Конец закона Мура, новая роль печатной платы и отрицание отрицания

Итак, российская индустрия борется с технологическим отставанием и техпроцессом 65–130 нм, а вся мировая микроэлектроника вплотную подошла к фундаментальному барьеру. К 2020 году стало ясно, что «Закон Мура», почти 60 лет служивший главным дорожным указателем прогресса, окончательно перестал работать в своей классической формулировке. Удорожание перехода на каждый новый техпроцесс стало экспоненциальным: если переход на 28 нм в 2011 году обходился в $2-3 млрд, то освоение 3 нм в 2022-м потребовало $20-25 млрд на фабрику.

Это привело к тектоническому сдвигу. Фокус сместился с миниатюризации транзисторов на гетерогенную интеграцию — искусную компоновку множества разных чипов (процессоров, памяти, ускорителей ИИ) в единой системе. И здесь печатная плата из пассивного носителя превратилась в ключевой активный компонент, определяющий производительность всей системы.

Мир вступил в эру «More than Moore» («Больше, чем Мур»), где прогресс измеряется не только плотностью транзисторов, но и:

  • Плотностью межсоединений на печатной плате
  • Энергоэффективностью всей системы
  • Скоростью передачи данных между чипами

Печатная плата стала полем битвы, где решается, сможет ли готовая система реализовать потенциал дорогих и сложных чипов. Плохо спроектированная плата сводила на нет преимущества даже самого совершенного 3нм процессора. Это вернуло в индустрию элемент инженерного искусства — теперь недостаточно было просто купить самые современные чипы, нужно было обладать мастерством, чтобы «заставить их петь» в унисон.

Таким образом, если закон Мура умер как директива для кремниевых фабрик, то он переродился как вызов для инженеров-схемотехников и производителей печатных плат. Фронт прогресса переместился с кремниевых пластин на текстолитовые подложки, где победа достаётся не тому, кто делает самые маленькие транзисторы, а тому, кто умеет наиболее эффективно соединять их в работающие системы.

Однако за этим технологическим триумфом скрывалась уродливая реальность. Вся отрасль, прошедшая столетний путь от кустарных мастерских до наноразмерных фабрик, упёрлась в системный тупик, порождённый самой логикой капиталистической гонки.

ЦОДы для обучения ИИ, такие как те, что построили Microsoft и Google, начали потреблять гигаватты энергии — столько же, что и города с населением в сотни тысяч человек. Платы для ИИ-серверов превратились в устройства для преобразования электричества в тепло с попутными вычислениями.

Триллионные инвестиции в искусственный интеллект создали ажиотажный спрос на вычислительные ресурсы, оторванный от реальных экономических потребностей. Половина стартапов в области ИИ не производит ничего, кроме красивых презентаций, но уже успела взвинтить цены на чипы и оборудование.

Редкоземельные металлы — галлий, германий, неодим — стали оружием в торговых войнах. Угроза эмбарго на их поставки в 2023-2025 годах обрушила планы целых корпораций, доказав, что вся глобальная технологическая пирамида стоит на хрупком фундаменте сырьевой иглы.

Деглобализация и санкционная политика разорвали единые технологические цепочки. Производители плат оказались заложниками политиков, а проектировщики — заложниками логистического коллапса.

Капитализм, когда-то бывший мотором прогресса, превратился в его главный тормоз. Система, требующая бесконечного роста на конечной планете, привела к тому, что развитие технологий упёрлось не в законы физики, а в законы рынка. Индустрия печатных плат, как и вся микроэлектроника, оказалась на перепутье: продолжать гонку, ведущую в энергетический и экологический коллапс, или искать новые парадигмы — менее прибыльные, но более разумные. Ответа на этот вопрос нет до сих пор.

Заключение. Нервная система цивилизации и её новое замыкание

Сто лет — ничтожный срок для истории, но для технологии печатных плат это была целая эпоха, вместившая несколько цивилизационных сдвигов. Итак, что мы имеем после ста лет эволюции? Печатная плата из кустарного ноу-хау беженца Эйслера превратилась в самый массовый технологический продукт в истории. Мы прошли путь от травления медных дорожек кислотой в гараже до наноразмерных фабрик, где кремниевая фотоника сшивает оптические волноводы лазерными импульсами. Казалось бы — триумф.

Но этот триумф с душком. Вся эта величественная конструкция глобальной электроники оказалась построенной на песке. Мы заменили «хаос проводов» из радиоламповых приёмников на куда более изощрённый хаос: энергетический вампиризм дата-центров, сырьевые войны за редкоземельные металлы и тотальную зависимость от политических игр.

Закон Мура? Он благополучно скончался, упёршись в физические пределы и экономическое безумие. Сегодня прогресс — это не про уменьшение транзисторов. Это про то, как упаковать кучу дорогих и прожорливых чипов в одну систему, чтобы они не сожгли друг друга. И печатная плата из пассивной подложки внезапно стала главным героем этого цирка. Теперь именно от её качества зависит, будет ваша нейросеть обрабатывать запросы или просто греть атмосферу.

Что дальше? Гонка за нанометрами окончательно превратилась в игру для гигантов с бездонными бюджетами. Будущее — не в том, чтобы делать чипы меньше, а в том, чтобы заставить их работать умнее. Новые материалы. 3D-печать плат. Встроенные компоненты. И да, отчаянные попытки придумать экономику, не требующую вечного роста потребления на конечной планете. (Спойлер: есть такая экономика.)

Печатная плата начиналась как история гения, борющегося с нищетой. Она стала историей цивилизации, построившей свою нервную систему на текстолите. Следующие сто лет покажут, окажется ли эта нервная система достаточно крепкой, чтобы пережить кризисы, которые она же и породила. Одно можно сказать точно: альтернативы у нас нет. Придётся чинить систему на ходу.

Вверх

Синопсис. Печатные платы. Век технологической иронии

Хронология технологии, определившей лицо современной цивилизации.

Конец XVIII – XIX век: От философских искр к управляемому току

  • 1782: Алессандро Вольта создаёт электрический конденсатор и микро-электрометр. Наконец-то электричество можно измерить, а не просто наблюдать за искрами с философским вздохом.
  • 1788: Вольта представляет чувствительный электрометр с соломенными индикаторами. Соломинки оказались умнее и чувствительнее иных современников Вольты — наука не стояла на месте.
  • 1800: Создан Вольтов столб (первая химическая батарея). Серьёзный прорыв: теперь можно было получать электричество, не натирая шерстью эбонитовые палочки до седьмого пота.
  • 1876: Александр Грэхем Белл изобретает телефон. Начинается эра, когда люди смогут раздражать друг друга на расстоянии.
  • 1879: Томас Эдисон патентует лампу накаливания. Освещение мира начинается с угольной нити в вакуумированной колбе.
  • 1884: Компания Kodak создаёт первую фотокамеру. Теперь любой желающий мог запечатлеть вечность, потратив кучу денег на плёнку и реактивы.
  • 1888: Никола Тесла представляет электродвигатель. Переменный ток начинает своё победоносное шествие, к большому неудовольствию Эдисона.
  • 1890: Герман Холлерит создаёт табулирующую машину. Рождение машинной обработки данных, предвестник эры, когда ошибаться будут компьютеры, а не люди.
  • 1895: Никола Тесла создаёт систему питания переменным током (AC). Война токов официально выиграна, но битва за патентные отчисления будет длиться вечно.

1900-1930-е: Эпоха проводов и интуитивных прорывов

  • 1903: Альберт Хансон патентует концепцию плоских проводников и многослойных плат. Идея, опередившая время лет на пятьдесят.
  • 1904: Томас Эдисон экспериментирует с химическим нанесением проводников. Гений практичности пытается упростить будущее, которого ещё нет.
  • 1913: Артур Берри разрабатывает метод "печати и травления". Появляется элегантный способ убрать всё лишнее.
  • 1916: Макс Шоп патентует газопламенное напыление металла через узорчатую маску. Первая попытка заставить металл лететь туда, куда нужно.
  • 1925: Чарльз Дюкас подал первый американский патент на подобное PCB изобретение, используя трафаретное нанесение проводящего материала на деревянную основу. Официальное рождение термина «печатная плата», который все благополучно проигнорируют.
  • 1926: Немецкая компания Loewe создаёт «интегральную лампу» 3NF, содержащую три триода, два конденсатора и четыре резистора в одном стеклянном корпусе — один из первых прототипов интегрального компонента. Технологический прорыв, мотивированный не научным поиском, а желанием уклониться от налога на роскошь. Капитализм, как известно, — двигатель прогресса.
  • 1927: Чарльз Дюкас развивает свой метод, начиная печатать провода на платах с помощью трафарета и проводящих чернил. Упорство, достойное лучшего применения.
  • 1929: Термин «супер компьютер» впервые появляется в документах для описания табулятора IBM для Колумбийского университета. Производительность скромно оценили как «равная ста математикам».
  • 1936: Владимир Лукьянов создаёт в СССР «водный интегратор». Первый в мире компьютер, решающий дифференциальные уравнения с помощью потоков воды. Иногда самые сложные задачи требуют самых простых решений. Или наоборот?
  • 1936: Пауль Эйслер, бежавший от нацистов, в условиях нищеты в Великобритании изобретает печатную плату для радиоприёмников. Ирония судьбы: будущий архитектор глобальной электроники спасался от режима, мечтавшего о мировом господстве.
  • 1936-1947: Джон Саргроув разрабатывал машины для напыления металла на бакелитовые платы.
  • 1938: Джон Саргроув меняет имя (настоящее имя Джон Адольф Сзабади). По-видимому, с новым именем проще создавать машины для напыления металла на бакелит.
  • 1939: Пауль Эйслер за 1 фунт стерлингов передал права на своё изобретение бизнесмену Гарольду В. Стронгу.

1940-е: Война как главный инвестор и заказчик

  • 1941-1943: Многослойные печатные платы (не в современном понимании) находят применение в немецких морских минах и американских радиовзрывателях. Идеальный стартап: безграничное финансирование, тотальная секретность и гарантированный спрос. Начинается широкое использование бесконтактных взрывателей с печатными платами во Второй мировой войне.
  • 1942: Начинается создание ENIAC (Electronic Numerical Integrator and Computer). Армии США срочно потребовались расчётные таблицы, и они получили монстра размером с квартиру.
  • 1943: Пауль Эйслер патентует субтрактивный метод. Великие открытия часто рождаются не в блестящих лабораториях, а из отчаяния и желания сэкономить на проводах. Американское Бюро разрабатывает печатную плату для использования в радиовзрывателях. Технология печатных плат доходит до США и используется в радиовзрывателях Mk53.
  • 1944: Компания Centralab получает секретный патент на керамические платы с напылёнными схемами для взрывателей. Война — мать не только инноваций, но и чрезвычайно выгодных госзаказов.
  • 1945: ENIAC начинает работу в Баллистической исследовательской лаборатории (декабрь). Программирование осуществляется путём переключения кабелей — мечта современного адепта agile.
  • 1947: Рождение транзистора в Bell Labs и ферритовой памяти. Твердотельная электроника скромно заявляет о себе, предрекая скорый конец эпохи ламп.
  • 1943-1947: Печатные платы впервые серийно производились для военных применений, таких как взрыватели с радиовзведением (VT fuze). Технология была строго засекречена, а её применение позволило создать компактные и устойчивые к перегрузкам устройства.
  • 1948: Армия США рассекречивает технологию печатных плат. Великодушный жест: промышленность получает в подарок технологию, которую сама же и создала по военным заказам. Разработка принципа массовой пайки волной припоя.

1950-е: Стандартизация, транзисторы и космический старт

  • 1950-е: Начало коммерческого использования печатных плат в телевизорах, радиоприёмниках и ранних компьютерах. Внедрение машин для автоматического травления меди и сверления отверстий. Появление первых многослойных плат. Несмотря на преимущества, до конца 1960-х в бытовой технике часто преобладал навесной монтаж из-за консервативности индустрии. И дешёвого ручного труда, конечно.
  • 1950: Бюро аэронавтики ВМС США заказывает Национальному бюро стандартов (NBS) разработку системы автоматизированного проектирования и выпуска универсальных электронных устройств модульного типа (Project Tinkertoy). Армейская программа «Tinkertoy» делает печатные платы промышленным стандартом. Когда военные заказывают музыку, индустрия учится танцевать.
  • 1950: В Киеве запущена МЭСМ (Малая электронная счётная машина) Сергея Лебедева — первый компьютер в континентальной Европе с хранимой программой. Площадь 60 м², производительность 50 оп/с. Скромно, но с душой.
  • 1951: Представлен UNIVAC I, первый коммерческий компьютер в США. UNIVAC I точно предсказывает победу Эйзенхауэра на выборах. Компьютеры впервые используют для подсчёта голосов, а не для расчёта траекторий снарядов. Прогресс.
  • 1952: В Bell Labs Джоел Эберс создаёт четырёхслойный транзистор — тиристор. Статья в BSTJ впервые описывает исследование целесообразности применения транзисторов в виде миниатюрно упакованных схем. Компания Motorola инвестирует 1 миллион долларов в разработку платинированных схем для домашних радиоприёмников. В ноябре компания Hallicrafters представляет часы-радио на печатной плате. IBM представляет свои первые коммерческие научные компьютеры — серию IBM 700 на вакуумных лампах.
  • 1953: В СССР внедряют радиоприёмник «Дорожный» на печатных платах, изготовленных по электрохимической технологии. Советская электроника делает первые, хоть и неуклюжие, шаги к массовости.
  • 1954: На Кунцевском электромеханическом заводе (МРТЗ) начато производство телевизора «Старт» с применением рельефных печатных плат. Оригинально, но тупиково. Начинается разработка тонкоплёночных микросхем в RCA.
  • 1955: Появление первых массовых потребительских устройств на ПП — транзисторного радиоприёмника Regency TR-1. Motorola выпускает первый транзистор в корпусе TO-3 (XN10). IBM представляет свой первый полностью транзисторный продукт — калькулятор IBM 608.Технология, вчера управлявшая снарядами, сегодня играет джаз.
  • 1956: Армия США получила патент "Process of Assembling Electronic Circuits". США официально признали технологию печатных плат. Открытая публикация описания метода пайки погружением (Auto-Sembly) способствовала широкому распространению печатных плат. Появляются процессы автоматической сборки печатных плат (разработаны в US Army Signal Corps).  IBM налаживает собственное производство транзисторов. «Голубой гигант» решает, что лучше производить ключевые компоненты самому, чем зависеть от поставщиков. Московский завод «Изолит» начинает выпуск фольгированного гетинакса. СССР, как всегда, догоняет, но своим путём.
  • 1957: Немецкие компании начинают производство печатных плат. В Новгороде организован завод по производству унифицированных функциональных узлов (УФУ) на печатном монтаже с использованием усовершенствованной электрохимической технологии. Армия США и АНБ поручают компании Sylvania Electronic System разработать миниатюрные герметичные модули (FLYBALL 2) для секретных военных машин. Пауль Эйслер уходит на пенсию.
  • 1958–1959: Джек Килби и Роберт Нойс создают интегральную схему. Работа Килби имела фундаментальное значение, но современные чипы ведут родословную от планарного процесса Нойса, который оказался практичнее. Начало великой дружбы кремния и текстолита.
  • 1958: В СССР получено авторское свидетельство на усовершенствованный электрохимический способ изготовления печатных плат с использованием тиснения красочной фольги. Советские инженеры демонстрируют, что могут быть не только догоняющими, но и изобретательными. RCA анонсирует десятибитный регистр сдвига Уолмарка как «новую концепцию в электронной технологии». В Дании при изготовлении машины Electrologica X1 используют миниатюрные модули. В ГДР профессор Леман строит миниатюрные компьютеры D4a с компактной упаковкой транзисторов. Выпущен IBM 709, ламповый компьютер с операционной системой SOS.
  • 1959: IBM представляет свой первый транзисторный компьютер — 7090.

1960-е: Суперкомпьютеры, космос и многослойность

  • 1960-е: Широкое распространение многослойных печатных плат (4 и более слоёв). Активное развитие технологии сквозных металлизированных отверстий (plated through-hole). Печатные платы становятся компонентами калькуляторов, кассовых аппаратов и других простых устройств. В СССР завод «Молдавизолит» начал серийное производство фольгированного стеклотекстолита. С 1961 по 1965 годы NASA было крупнейшим потребителем микросхем на мировом рынке. Широкое распространение получает технология компактной упаковки компонентов «cordwood». IBM демонстрирует технологию «планарного монтажа» (прототип SMT). NASA адаптирует эту конструкцию в своём цифровом компьютере для ракет-носителей. В СССР создаётся компьютер М-20.
  • 1960: Philips начинает производство модулей Series-1, 40-Series и NORbit в качестве элементов программируемых логических контроллеров. Европа пытается не отставать в наступлении эры стандартизации.
  • 1961: Полет Юрия Гагарина, рассчитанный на наземном компьютере М-20. Советский подход: гениальная простота и расчёты на земле, а не на борту. IBM разрабатывает гибридные модули для бортового компьютера IBM LVDC (программа Gemini). IBM представляет IBM 7030 Stretch. Амбициозно, дорого и коммерчески провально — идеальный проект для обучения менеджменту.
  • 1962: Выходит фундаментальная книга «Planning a Computer System: Project Stretch» под редакцией Лайла Джонсона и Фредерика Брукса, где впервые употребляется термин «архитектура компьютеров». IBM 7030 становится самым быстрым компьютером в мире.
  • 1963: Патент на сквозные металлизированные отверстия. Платы научились переговариваться между этажами своего многослойного дома. IBM представляет гибридные схемы SLT (Solid Logic Technology) для своей серии System/360.
  • 1964: Мейнфрейм IBM System/360. Печатные платы окончательно перестают быть штучным товаром и становятся винтиками в машине корпоративных вычислений.
  • 1964: Представлен CDC 6600 Сеймура Крея. Первый настоящий суперкомпьютер, в три раза обогнавший разработку IBM. Мистер Уотсон из IBM не смог понять, как это произошло.
  • 1965: Начало производства советской БЭСМ-6. Легендарная машина, которая будет выпускаться 22 года — рекорд, говорящий как о гениальности архитектуры, так и о застое в отрасли.
  • 1965-1975: Период бурного развития технологии печатных плат в СССР: начало производства сухих плёночных фоторезистов (Казанский завод «Коммунар»), разработка руководящих технических материалов (РТМ), закупка импортного оборудования, создание «базового технологического процесса».
  • 1965: В СССР издана книга «Проектирование сверхбыстродействующих систем: Комплекс Стретч» под редакцией А.И. Китова. Первые экземпляры CDC 6600 отправляются в Национальные лаборатории Ливермора и Лос-Аламоса. Начало производства советского суперкомпьютера БЭСМ-6 (Большая электронная счётная машина) под руководством Сергея Лебедева.
  • 1966: Размер ферритовых сердечников для памяти сократился с 2,5 мм до 0,33 мм.
  • 1967: Патент на гибкую печатную плату. Электроника впервые смогла согнуться в пируэте для нужд аэрокосмоса.
  • 1969: Появление первых систем CAD. Инженеры начинают медленно доверять машинам проектирование других машин. В СССР издан РТМ Юг0.054.007 «Платы печатные многослойные», регламентирующий производство МПП.

1970-е: Векторные вычисления, ПК и попытка догнать

  • 1970-е: Разработка и внедрение технологии поверхностного монтажа (SMT). Продолжение развития многослойных плат. Печатные платы начинают использоваться в цифровых часах, первых видеоиграх и персональных компьютерах. В СССР освоено производство многослойных печатных плат (МПП) классическим методом металлизации сквозных отверстий, а также разработаны альтернативные методы (попарного прессования, послойного наращивания, выступающих выводов) из-за нехватки качественных материалов. Широкое распространение получают гибкие и гибко-жёсткие платы, сначала для военных и космических применений. Для избежания путаницы с полихлорированными бифенилами (ПХБ) в промышленности начинают использовать термины «печатная плата» (PWB) и «печатная плата с печатными проводами». Разрабатываются тонкие полимерные и фотоформируемые паяльные маски.
  • 1971: Пауль Эйслер официально признан изобретателем печатной платы.
  • 1972: Сеймур Крей уходит из CDC и основывает Cray Research. Гений уединяется для создания своих «диванов» будущего.
  • 1973-1978: В СССР создан единый «базовый» технологический процесс для серийного производства двухсторонних и многослойных ПП. Отработаны стабильные процессы химического и гальванического меднения, внедрено покрытие сплавом олово-свинец (ПОС-60) в качестве металлорезиста.
  • 1975: В рамках проекта «Союз–Аполлон» советская команда использует вычислительный комплекс на базе БЭСМ-6 для обработки телеметрических данных. Разрядка.
  • 1976: Представлен Cray-1. Самый дорогой и быстрый диван в мире, использующий векторную обработку.
  • 1976: В СССР стартует масштабная госпрограмма по внедрению ПП. Стратегия «купить, а не изобретать» выглядела разумной. На тот момент.
  • 1977: «Святая троица» персональных компьютеров (Apple II, Commodore PET, TRS-80). Печатная плата официально прописывается в каждой уважающей себя гостиной.
  • 1979: В СССР представлен «Эльбрус-1» с уникальной архитектурой VLIW. Советский ответ Крею, который будет работать в оборонке ещё десятилетия.
  • 1978-1990: Технология производства печатных плат в СССР вышла на уровень, близкий к мировому. Накопленный опыт обобщён в отраслевом стандарте ОСТ 107.460092.004.01-86.

1980-1990-е: Цифровая революция, коллапс и надежда

  • 1980-е: Широкое внедрение систем автоматизированного проектирования (CAD). Активное развитие и миниатюризация интегральных схем (IC), что увеличило сложность проектирования PCB. Печатные платы используются в радиобудильниках, видеомагнитофонах, игровых приставках Atari, проигрывателях CD и беспроводных телефонах. Появление коммерческих решений в классе автоматизации проектирования электронных устройств (EDA): P-CAD, ECAD (Dracula), Mentor Graphics, Daisy Systems, Valid Logic Systems. Массовое внедрение технологии поверхностного монтажа (SMT) в промышленности.
  • 1980: Представление формата Gerber. Изначально это был способ цифровой записи команд для фотоплоттеров. Появление «латыни» для производства, на которой до сих пор говорят все, но никто не использует в быту.
  • 1984: Гарри Рубинштейн получает премию Кледо Брунетти за ранние работы по печатным платам. Признание пришло к пионеру, когда индустрия уже вовсю использовала его идеи.
  • 1985: Появление Cray-2 с жидкостным охлаждением на фторорганике (Fluorinert). Элегантное решение проблемы тепла, которое, как выяснилось, могло производить боевой отравляющий газ. В СССР принят в эксплуатацию Эльбрус-2 — последняя супер ЭВМ страны. Разработка Эльбрус-3 закончена не будет.
  • 1987: Завершено производство БЭСМ-6 (1965). Эпоха долгоживущих советских ЭВМ подошла к концу.
  • 1990-е: Массовая миниатюризация компонентов и распространение высокоплотного монтажа (HDI). Печатные платы стали стандартом для подавляющего большинства электронных устройств. Распространение ПК и периферийных устройств (сканеры, принтеры). Начинается широкое применение гибких и гибко-жёстких плат в массовой миниатюрной электронике. Полихлорированные бифенилы (ПХБ) выводятся из обращения. Широкое распространение программного обеспечения CAD/CAM для проектирования печатных плат. Появление концепции кластеров Beowulf, сделавших высокопроизводительные вычисления доступными с использованием стандартного оборудования. Доклад Юджина Брукса «Нашествие микропроцессоров» предсказывает закат специализированных суперкомпьютерных архитектур.
  • 1990-е: Распространение BGA-корпусов вызывает кризис пайки. Чипы, спрятавшие ножки, поставили индустрию на колени. Временно.
  • 1990-е: Российская отрасль переживает коллапс. Великое рассеяние: инженеры, создававшие платы для «Бурана», начали торговать кассетами. Тоже челноки, но есть нюанс…
  • 1992: Пауль Эйслер наконец-то получает официальное признание (серебряную медаль Наффилда от Института инженеров электротехники и электроники). Всего через 35 лет после ухода на пенсию.
  • 1997: Суперкомпьютер ASCI Red первым преодолевает рубеж в 1 терафлопс в тесте Linpack. Эра «микропроцессоров-убийц» специализированных систем официально началась.
  • 2000-2010-е: Эра высоких плотностей, GPU и возрождения
  • 2000-е: Технология HDI и микропереходные отверстия. Ответ индустрии на вопрос «Куда воткнуть ещё тысячу контактов?». Появление и коммерциализация гибких и жёстко-гибких печатных плат на основе полимерных плёнок.  
  • 2003: Создан суперкомпьютер терафлопного уровня из нескольких десятков игровых приставок PlayStation 2, объединённых в кластер (Университет Иллинойса). Доказательство того, что гений и смекалка иногда важнее бюджета.
  • 2006: Директива RoHS запрещает свинец. Благое намерение спасти планету обернулось глобальной головной болью для технологов.
  • 2009: Китайский Tianhe-1 сочетает CPU и GPU. Начало эры гибридных архитектур, где видеокарты стали работать на науку, а не только на геймеров.
  • 2010-е: Российская промышленность пытается возродиться. Дорогостоящая и мучительная попытка собрать пазл, части которого давно утеряны или устарели. Активное развитие и внедрение высокочастотных материалов для стандартов 5G и Wi-Fi 6. Начало использования лазерного сверления микропереходов для сложных HDI-плат. Развитие технологий встраивания пассивных компонентов в подложку платы.
  • 2011: Суперкомпьютер IBM Watson, построенный на 90 процессорах POWER7, побеждает в телевикторине «Jeopardy!». У нас она была запущена как «Своя игра».

2020-е…: Кризис парадигм и будущее

  • 2020-е: Применение 3D-печати для прототипирования и производства печатных плат. Активное внедрение искусственного интеллекта и машинного обучения для оптимизации проектирования и контроля качества. Развитие экологичных производственных процессов. Работы по встраиванию активных элементов (ИС) в структуру платы. Рост использования металлических основ (MCPCB) для отвода тепла. Для производства сложной мобильной электроники широко используются полуаддитивные техпроцессы (SAP, mSAP). Гибридные архитектуры (CPU+GPU) становятся доминирующими в суперкомпьютерах, обеспечивая рекордную производительность и энергоэффективность (например, суперкомпьютер Frontier).
  • 2020-е: Закон Мура перестаёт работать. Физика и экономика дружно сказали «стоп» бесконечной миниатюризации.
  • Настоящее время: Мировая индустрия исследует встроенные компоненты и кремний-фотонику. Плата эволюционирует из пассивной подложки в интеллектуальную среду. SAP/mSAP становятся стандартом для производства высокоплотных плат. Технология нашла своё место в мире.
  • Российский контекст: Попытка построить технологический суверенитет в условиях, когда единственным доступным активом оказывается стратегическое терпение.

Список источников

Список неполный и приведён скорее как справочник и отправная точка для дальнейшего погружения в тематику истории электроники.

Книги и монографии

  1. Эйслер, П. «My Life with the Printed Circuit». — Lehigh University Press, 1989.
    *(Мемуары самого изобретателя — первоисточник по истории создания технологии.)
  2. К. Брунетти, Р.В. Кертис — «Printed-Circuit Techniques». Washington, DC: Proceedings of the IRE, 1 January 1948. Publisher: IEEE.
  3. Брунетти, Кледо. «New Advances in Printed Circuits». Washington, DC: National Bureau of Standards, November 22, 1948.
  4. Риордан, М., Ходдесон, Л. «Crystal Fire: The Birth of the Information Age». — W.W. Norton & Company, 1997.
    *(Классическая работа по истории изобретения транзистора.)
  5. Франко Малоберти, Энтони С. Дэвис (редакторы) — «A Short History of Circuits and Systems» — Нью-Йорк, River Publishers, 2016
  6. Федулова А.А. «Многослойные печатные платы». — М.: Издательство «Советское радио», 1973.
  7. Морозов К.К. «Методы разбиения схем РЭА на конструктивно законченные части».  — М.: Издательство «Советское радио»: Редакция литературы по вопросам космической радиоэлектроники, 1978.
  8. Николаев И. М., Филинюк Н. А. «Интегральные микросхемы и основы их проектирования». — М.: Радио и связь, 1992.
  9. Чистяков А. «Архитекторы компьютерного мира». — СПб.: БХВ-Петербург, 2002.
  10. Матсон Э.А. «Конструкция и технология микросхем»: Учеб. пособие для радиотехн. спец. вузов. — Мн.: Выш. шк., 1985.
  11. Малиновский Б.Н. «История вычислительной техники в лицах». — К.: фирма КИТ, 1995.
  12. Ревич Ю.В., Малиновский Б.Н. «Информационные технологии в СССР. Создатели советской вычислительной техники» — СПб: Издательство «БХВ», 2014. Книга — доработанная версия предыдущей («История вычислительной техники в лицах» Малиновского).
  13. Затуливетер Ю.С., Фищенко Е.А. «ПС-2000 – многопроцессорный компьютер общего назначения с массовым параллелизмом» — публикация Института проблем управления им. В. А. Трапезникова РАН
  14. Клайд Ф. Кумбс-младший (шеф-редактор) «Printed Circuit Handbook», Sixth Edition, The McGraw-Hill Companies, USA, 2008.
  15. Marguerite Zientara «The History Of Computing». CW Communications, Inc., США, 1981.

Научные и отраслевые журналы

  1. «Proceedings of the IEEE». — Статьи по истории электроники, в т.ч. специальный выпуск, посвящённый 50-летию транзистора (1998 г.).
  2. «IEEE Transactions on Components, Packaging, and Manufacturing Technology». — Публикации по развитию технологий сборки и монтажа.
  3. «Сборник научных трудов НИИ «ВНИИРТ»» (Всесоюзный научно-исследовательский институт радиотехники). — Москва, 1970-1980-е гг.
    *(Внутренние отчёты ведущего советского института в области печатных плат.)
  4. «Радиотехника» (СССР). — Публикации по отечественной элементной базе и конструкциям РЭА.
  5. «Электронная промышленность» (СССР/Россия). — Отраслевой журнал, освещающий состояние и перспективы производства.
  6. «Электроника НТБ» (Россия) — Издатель: РИЦ «ТЕХНОСФЕРА». Журнал «ЭЛЕКТРОНИКА: НТБ» включён в Российский индекс научного цитирования.
  7. «ПРОГРАММНЫЕ СИСТЕМЫ: ТЕОРИЯ И ПРИЛОЖЕНИЯ» — Электронный научный журнал ИПС им. А.К. Айламазяна РАН (https://psta.psiras.ru/)

Патентная документация

  1. Патент Альберта Хансона
    1. GB № 4681 A.D. 1903 — “Impovements in or connected with Electric Cables and the Jointing of the same” — Accepted 1904
  2. Патент Чарльза Дюкаса
    1. US1563731A (1925) — “Electrical apparatus and method of manufacturing the same”
  3. Патенты Пауля Эйслера
    1. GB 639111 (1943) — “Manufacture of electric circuits and circuit components” — Оригинальный патент в Англии
    2. US2441960 (1948) — “Manufacture of electric circuit components” — Патент в США
  4. Патент Джона Бардина и Уолтера Х. Браттейна
    1. Bardeen John, Walter H Brattain “Three-electrode circuit element utilizing semiconductive materials” — US2524035A (Application filed by Bell Telephone Laboratories Inc 1948, granted 1950). Текущий правообладатель AT&T
  5. Патент Джека Килби
    1. Jack S Kilby — “Miniaturized electronic circuits” — US3138743A (filed 1959  by Texas Instruments Inc, granted 1964), Assignee: Texas Instruments Inc
  6. Патент на металлизацию отверстий:
    1. Donald E Bedson, Nuzzo Salvatore A Di, Anthony C Suleski — “Multiplanar printed circuits and methods for their manufacture". — US 3,102,213 (filed 1960, granted 1963), assigned to Hazeltine Research Corporation.
      Патент, описывающий метод сквозной металлизации отверстий — ключевое изобретение для многослойных плат.
  7. Process of assembling electrical circuits (сборка):
    1. US2756485A (Abramson Moe, Stanislaus F Danko, 1956)

Официальные отчёты и стандарты

  1. National Bureau of Standards (NBS) Circular 468: « Printed Circuit Techniques» (1948).
    *(Документ, способствовавший популяризации технологии в США после войны. Упоминается отдельно как стандарт для удобства.)
  2. IPC Standards (Association Connecting Electronics Industries). — Серия стандартов IPC-600, IPC-6012, IPC-A-600, IPC-T-50, IPC-T-51.
    *(Современные международные стандарты качества и технологические требования, терминология.)
  3. ГОСТы СССР и РФ на печатные платы и основные материалы (стеклотекстолит, фольга, химикаты). — ГОСТ 10316-78, ГОСТ 10317-79, ГОСТ 23752-79, ГОСТ 10317-79, ГОСТ Р 55490-2013, ГОСТ 26246.1–14-89 и другие

Архивные материалы и музейные коллекции

  1. Science Museum Group (London). — Коллекция «Paul Eisler and the Printed Circuit». Содержит первые образцы его плат и документацию. Онлайн-каталог доступен для поиска.
  2. Computer History Museum (Mountain View, USA). — Архивы по истории компьютеров и элементной базы.
  3. Политехнический музей (Москва). — Коллекция советской радиоэлектронной аппаратуры и компонентов.
  4. National Museum of American History (Smithsonian, USA). — Коллекция «Computer History». Содержит артефакты, связанные с проектами Tinkertoy и ранними компьютерами.
  5. Bullock Texas State History Museum (Austin, TX, USA). — Artifact Gallery, Regency Radio and Advertisement
  6. Tekniska museet (Museivägen 7, 115 27 Stockholm, Sverige). — Виртуальная выставка шведской техники и промышленности в DigitaltMuseum (SE)

Сайты

  1. Научно-образовательный портал «Большая российская энциклопедия» — Издатель: автономная некоммерческая организация «Национальный научно-образовательный центр «Большая российская энциклопедия».
  2. Деловая электронная газета «Бизнес Online» — Учредитель ООО «Бизнес Медия Холдинг»
  3. Российское общество гальванотехников и специалистов в области обработки поверхности — журнал «Гальванотехника»
  4. Хабр — Habr Blockchain Publishing Ltd., Cyprus
  5. Shapr3D — Shapr3D Zrt
  6. Google Patents — Издатель: Google LLC, USA
  7. Internet Archive  — The Internet Archive, San Francisco, CA, USA, is a non-profit library of millions of free texts, movies, software, music, websites, and more.
  8. IEEE Xplore — Institute of Electrical and Electronics Engineers, США и Канада
  9. PatentDocs — Advameg, Inc, США
  10. IEEE Circuits and Systems Society (CASS) — IEEE CASS, США
  11. АКАДЕМИК — Академик, словари и энциклопедии
  12. БЭСМ-6 — Межведомственный суперкомпьютерный центр РАН, Институт системного программирования им. В.П. Иванникова РАН
  13. The International Energy Agency (IEA) — International Energy Agency, 9 rue de la Fédération, 75739 Paris Cedex 15, France. Международное энергетическое агентство (МЭА) работает с правительствами и промышленностью над созданием безопасного и устойчивого энергетического будущего для всех. Так написано на сайте.
  14. Wikimedia Commons — коллекция из 130 218 892 (на ноябрь 2025 года) свободно используемых медиафайлов, в которую любой может внести свой вклад.
  15. Wikipedia — свободная энциклопедия, которую может редактировать каждый. Достоверность данных из-за этого принципа достаточно низка.
  16. CNews — Сетевое издание «CNews», Москва, Россия. «…крупнейшее издание в сфере высоких технологий в России и странах СНГ.»
  17. Jisso News Center — околонаучный новостной портал, Япония.
  18. Страна РОСАТОМ — Отраслевое издание госкорпорации «Росатом», Россия.
  19. Phil's Old Radios — один из первых в мире сайтов, посвящённых старым радиоприёмникам и телевизорам, который был запущен в 1995 году и до сих пор успешно работает.

Вверх

Задать вопрос Новости

Чип-бондинг — это процедура фиксации электронных компонентов на плате при помощи специального клея (адгезива).
Её выполнение в процессе SMT-монтажа…

Разработка может быть перспективной для применения в устройствах сверхбыстрой связи, приборах определения дальности, в сфере спектроскопии и…

Новая отечественная система автопилотирования летательных аппаратов малой авиации. Российская разработка отличается высокой надёжностью и способна…

Исследователи из двух американских стартапов анонсировали свою разработку — уникальное оборудование для электронно-лучевой…

Продолжаются работы по обеспечению импортозамещения в сфере электроники.

Учёные из Японии разработали биогибридный дрон, который обладает обонянием тутового шелкопряда. Предполагается, что такой инновационный дрон сможет…

В статье подробно рассказано о том, что такое целостность сигнала на печатной плате, описаны девять факторов, приводящих к проблемам целостности…